ИННОВАЦИИ БИЗНЕСУ

ПОДРОБНАЯ ИНФОРМАЦИЯ

Заявку на получение дополнительной информации по этому проекту можно заполнить здесь.

Номер

47-002-06

Наименование проекта

Газовый аппарат индивидуального отопления квартир настенного типа.

Назначение

Теплоснабжение жилых и административных зданий в зимний период.

Рекомендуемая область применения

Строительство, реконструкция, восстановление, инженерное обеспечение объектов строительства.

Описание

Результат конструкторской разработки.

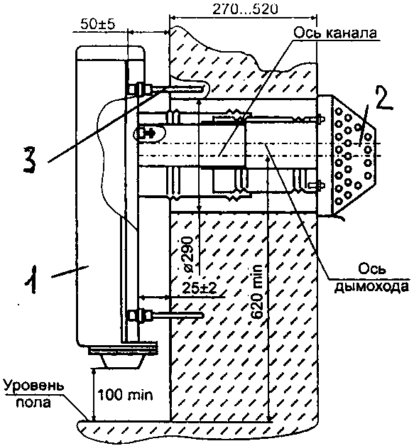
В связи с переводом с централизованного отопления многоэтажных домов (от котельной) на индивидуальное, возникла необходимость в каждой квартире устанавливать индивидуальные отопительные аппараты, работающие на природном газе или электрические. Предложено на кухне устанавливать газовый аппарат       АКГВ-7,4. На рис.1 представлен общий вид аппарата и его установка. Он состоит из корпуса 1 с газогорелочным устройством и дымохода 2 o250 мм. Крепят его к наружной стене на кронштейнах 3. Подвод газа осуществляется гибким шлангом o15 мм. Диаметр патрубка для соединения с системой водяного отопления составляет 25 мм.

Принцип действия: при включении газа производят розжиг газогорелочного устройства, нагретая вода до 90° подается по трубам по комнатам квартиры на отопление. Вместо дымохода в кирпичной кладке стен предусмотрено конструкцией наличие в наружной стене выпускного канала газохода o290 мм. Этот же канал является одновременно и впускным воздуховодом.

Кроме этого, аппарат является настенным и предназначен как для отопления, так и для горячего водоснабжения при подогреве до 50-60°С.

Установка аппарата  – это оптимальный вариант перевода региональных городов и поселков на поквартирное отопление с максимальной адаптацией работы к условиям эксплуатации.

Преимущества перед известными аналогами

Отсутствие традиционного дымохода в кирпичной кладке стен.

Стадия освоения

Внедрено в производство

Результаты испытаний

Соответствует технической характеристике изделия (устройства)

Технико-экономический эффект

Снижение себестоимости в 1,5 раза.

Возможность передачи за рубеж

За рубеж не передаётся

Дата поступления материала

13.02.2006

Инновации и люди

У павильонов Уральской выставки «ИННОВАЦИИ 2010» (г. Екатеринбург, 2010 г.)

Мероприятия на выставке "Инновации и инвестиции - 2008" (Югра, 2008 г.)

Открытие выставки "Малый бизнес. Инновации. Инвестиции" (г. Магнитогорск, 2007 г.)

Демонстрация разработок на выставке "Малый бизнес. Инновации. Инвестиции" (г. Магнитогорск, 2007 г.)