ИННОВАЦИИ БИЗНЕСУ

ПОДРОБНАЯ ИНФОРМАЦИЯ

Заявку на получение дополнительной информации по этому проекту можно заполнить здесь.

Номер

24-045-05

Наименование проекта

Ребровое сортировочное устройство

Назначение

Механизация трудоемких процессов сортировки выходящих пиломатериалов по группам и распределения продукции по соответствующим сортировочным группам.

Рекомендуемая область применения

Цеха лесопиления предприятий лесопромышленного комплекса.

Описание

Результат выполнения конструкторской и технологической разработки.

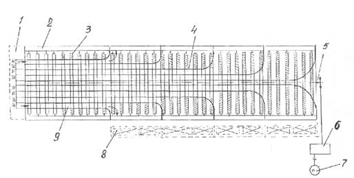
Ребровое сортировочное устройство состоит из рамы 2 (см.рисунок), на которой смонтированы приводные ролики 3, электродвигателя 7, редуктора 6 приводной станции, цепи 5 привода роликов.

Приводные ролики перемещают пиломатериал согласно размерам по определенным каналам в соответствующие пакеты.

Сортировочное устройство в значительной степени способствует рациональному использованию пиломатериалов, снижению трудозатрат, повышению качества и экономической эффективности лесопиления. Рационально организованная сортировка позволяет производительно использовать транспорт цеха, погрузочно-разгрузочное оборудование и складское хозяйство предприятия.

Ребровое сортировочное устройство упрощает процесс сортировки пиломатериалов и производственный процесс лесопильного производства, изготовляется серийно по заявкам предприятий, занимающихся лесопилением, соответствует техническим условиям.

Внедрено на лесопильных предприятиях отрасли.




Схема ребрового сортировочного устройства:

1 - распределительный участок сортировочного устройства; 2 - рама сортировочного устройства; 3 - приводные ролики; 4 - перегородки каналов; 5 - цепь привода роликов; 6 - редуктор приводной станции; 7 - электродвигатель привода сортировочного устройства; 8 - пакеты отсортированных пиломатериалов; 9 - канал, соответствующий определенному размеру; - движение сортируемых пиломатериалов

Преимущества перед известными аналогами

Простота в монтаже и эксплуатации. Позволяет более эффективно использовать транспорт и оборудование цеха.

Стадия освоения

Внедрено в производство

Результаты испытаний

Соответствует технической характеристике изделия (устройства)

Технико-экономический эффект

Снижение трудоемкости и повышение производительности труда.

Возможность передачи за рубеж

Возможна передача за рубеж

Дата поступления материала

26.09.2005

Инновации и люди

У павильонов Уральской выставки «ИННОВАЦИИ 2010» (г. Екатеринбург, 2010 г.)

Мероприятия на выставке "Инновации и инвестиции - 2008" (Югра, 2008 г.)

Открытие выставки "Малый бизнес. Инновации. Инвестиции" (г. Магнитогорск, 2007 г.)

Демонстрация разработок на выставке "Малый бизнес. Инновации. Инвестиции" (г. Магнитогорск, 2007 г.)