ИННОВАЦИИ БИЗНЕСУ

ПОДРОБНАЯ ИНФОРМАЦИЯ

Заявку на получение дополнительной информации по этому проекту можно заполнить здесь.

Номер

15-056-05

Наименование проекта

Очиститель противооткатного тормоза колесного движителя

Назначение

Очистка противооткатного тормоза от налипшей землиДождевальная техника типа "Фрегат"

Рекомендуемая область применения

Сельское хозяйство, орошение поливных земель дождевальной машиной типа "Фрегат"

Описание

Результат конструкторской разработки.


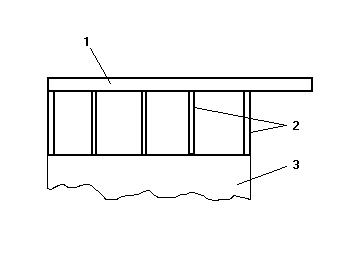
Противооткатный тормоз содержит тормозной элемент, связанный с очистителем колесного движителя 3 в виде ножевого элемента. Очиститель выполнен в форме гребенки, состоящей из основания 1 и прикрепленных к нему зубьев 2. Зубья 2 гребенки могут быть направлены в сторону колесного движителя 3 или в сторону от колесного движителя.

При опускании очистителя между почвозацепами происходит врезание его в почву, а при движении очистителя от одного почвозацепа к другому осуществляется разрушение и подрезание почвы.

Преимущества перед известными аналогами

За счет выполнения очистителя в форме гребенки снижается силовое воздействие на очиститель со стороны почвы

Стадия освоения

Опробовано в условиях опытной эксплуатации

Результаты испытаний

Соответствует технической характеристике изделия (устройства)

Технико-экономический эффект

Энергозатраты на привод тормоза снижен на 30%

Возможность передачи за рубеж

Возможна передача за рубеж

Дата поступления материала

31.10.2005

Инновации и люди

У павильонов Уральской выставки «ИННОВАЦИИ 2010» (г. Екатеринбург, 2010 г.)

Мероприятия на выставке "Инновации и инвестиции - 2008" (Югра, 2008 г.)

Открытие выставки "Малый бизнес. Инновации. Инвестиции" (г. Магнитогорск, 2007 г.)

Демонстрация разработок на выставке "Малый бизнес. Инновации. Инвестиции" (г. Магнитогорск, 2007 г.)