ИННОВАЦИИ БИЗНЕСУ

ПОДРОБНАЯ ИНФОРМАЦИЯ

Заявку на получение дополнительной информации по этому проекту можно заполнить здесь.

Номер

29-049-05

Наименование проекта

Способ вибрационного выпуска и доставки сыпучих материалов

Назначение

Целенаправленное регулирование возможностей комплекса выпуска и доставки, позволяющее устранить пересыпы в транспортную выработку, возникающие после окончания работы вибрационной установки

Рекомендуемая область применения

Горнорудная промышленность для выпуска и доставки сыпучих материалов (раздробленной горной массы) из блоков, панелей, камер, перегрузочных бункеров и др.

Описание

Результат выполнения конструкторско-технологической разработки.

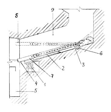
Процесс вибрационного выпуска и доставки сыпучих материалов осуществляется следующим образом.

При включении вибровозбудителя 1 (см. рис.) создающееся возмущающее усилие виброимпульса передается на грузонесущую площадку виброустановки 2, под действием которой она начинает совершать колебательные движения, тем самым приводя в движение находящийся на ней сыпучий материал.

Совершая сложные движения во время работы, грузонесущая площадка виброустановки 2 выполняет функцию перемещения сыпучего материала от загрузочной области 3 к разгрузочной области вибрационной установки 4. При прекращении подачи виброимпульса вибровозбудителем 1, чтобы предотвратить пересыпы сыпучего материала в транспортную выработку 5, производится подъем грузонесущей площадки вибрационной установки посредством поворотно-шарнирного соединения 6 из рабочего положения 7 в нерабочее положение 8, так чтобы активное сечение доставочной выработки 9 было перекрыто, для возобновления работы вибрационной установки ее опускают в первоначальное рабочее положение 7.

Для поднятия и опускания грузонесущей площадки вибрационной установки могут быть использованы различные типы подъемных устройств - от элементарных с помощью системы блоков, до более весомых, таких как домкраты, гидродомкраты и подъемники.

Рис. Способ вибрационного выпуска и доставки сыпучих материалов

Преимущества перед известными аналогами

После загрузки трансп.средства и прекращения подачи виброимпульса активное сечение доставочной выработки перекрывают посредством поднятия грузонесущей площадки виброустановки на уровень, полностью предотвращающий пересыпы сыпучего материала

Стадия освоения

Внедрено в производство

Результаты испытаний

Обеспечивается получение стабильных результатов

Технико-экономический эффект

Возрастание производительности работ на 30% на операциях выпуска, доставки и транспортирования

Возможность передачи за рубеж

Возможна передача за рубеж

Дата поступления материала

10.06.2005

Инновации и люди

У павильонов Уральской выставки «ИННОВАЦИИ 2010» (г. Екатеринбург, 2010 г.)

Мероприятия на выставке "Инновации и инвестиции - 2008" (Югра, 2008 г.)

Открытие выставки "Малый бизнес. Инновации. Инвестиции" (г. Магнитогорск, 2007 г.)

Демонстрация разработок на выставке "Малый бизнес. Инновации. Инвестиции" (г. Магнитогорск, 2007 г.)