ИННОВАЦИИ БИЗНЕСУ

ПОДРОБНАЯ ИНФОРМАЦИЯ

Заявку на получение дополнительной информации по этому проекту можно заполнить здесь.

Номер

02-047-05

Наименование проекта

Вибросмеситель для кормов

Назначение

Для смешивания сыпучих кормов и может использоваться для приготовления кормосмесей в кормоцехах.

Рекомендуемая область применения

Сельское хозяйство.

Описание

Результат выполнения конструкторской разработки.

Изобретение относится к устройствам для смешивания сыпучих кормов и может использоваться для приготовления кормосмесей в кормоцехах.

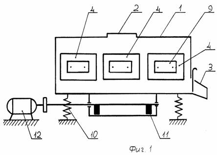
На фиг. 1 показана общая схема устройства.

На фиг. 2 - схема воздействия дополнительного воздушного потока на корм при правом положении дебалансов вибровозбудителя.

На фиг. 3 - то же при левом положении дебалансов вибровозбудителя.

Вибросмеситель состоит из жесткого корпуса 1, имеющего загрузочную 2 и выгрузную 3 горловины, окна 4 и смесительную камеру 5, по образующей которой установлен эластичный воздухонагнетатель 6. Верхние концы 7 и 8 воздухонагнетателя 6 закреплены к корпусу 1, а на внешней поверхности в зоне расположения окон 4 крепятся резонирующие массы 9. Корпус 1 установлен на опорных пружинах 10, а на его внешней стороне закреплен дебалансный вибровозбудитель 11, соединенный с приводом 12.

Смеситель работает следующим образом. Материал, подлежащий смешиванию, загружают в цилиндрическую смесительную камеру 5 через загрузочную горловину 2 жесткого корпуса 1. Максимальное заполнение смесительной камеры 5 не должно превышать 70...80%, в противном случае длительность процесса смешивания значительно возрастает. При включении привода 12 вибровозбудитель 11 генерирует круговую вибрацию жесткого корпуса 1. В процессе смешивания материал циркулирует в направлении, противоположном направлению вращения дебалансов вибровозбудителя 11, причем устанавливается некоторый угол поверхности пересыпания a к горизонту (фиг. 1). Установка в смесительной камере 5 эластичного воздухонагнетателя 6 способствует интенсификации процесса движения материала (и, естественно, качества перемешивания), так как на смешиваемую массу дополнительно воздействуют знакопеременные воздушные потоки, генерируемые воздухонагнетателем 6. Для обеспечения свободного хода резонирующих масс 9 концы 7 и 8 воздухонагнетателя 6 закреплены к корпусу 1. При правом положении дебалансов вибровозбудителя 11 (фиг. 2) права и левая резонирующие массы 9 находятся в правом крайнем положении и создают дополнительный воздушный поток, пронизывающий смешиваемую массу слева направо, обеспечивая дополнительное перемешивание массы. При переходе дебалансов вибровозбудителя 11 в левое крайнее положение (фиг. 3) резонирующие массы 9 переходят в левое крайнее положение, что приводит к дополнительному воздушному потоку, пронизывающему смешиваемую массу справа налево. Создаваемый таким образом знакопеременный воздушный поток обеспечивает усиленную циркуляцию частиц материала и повышает, таким образом, качество перемешивания. Все сказанное выше приводит и к увеличению производительности смесителя. Величина знакопеременного воздушного потока в широком диапазоне регулируется путем добавления или снятия пластин в резонирующих массах 9. После окончания перемешивания открывается выгрузная горловина 3 и материал выводится наружу.

Преимущества перед известными аналогами

Повышение качества перемешивания.

Стадия освоения

Внедрено в производство

Результаты испытаний

Технология обеспечивает получение стабильных результатов

Технико-экономический эффект

Повышение производительности устройства в 1,5 раза.

Возможность передачи за рубеж

Возможна передача за рубеж

Дата поступления материала

22.08.2005

Инновации и люди

У павильонов Уральской выставки «ИННОВАЦИИ 2010» (г. Екатеринбург, 2010 г.)

Мероприятия на выставке "Инновации и инвестиции - 2008" (Югра, 2008 г.)

Открытие выставки "Малый бизнес. Инновации. Инвестиции" (г. Магнитогорск, 2007 г.)

Демонстрация разработок на выставке "Малый бизнес. Инновации. Инвестиции" (г. Магнитогорск, 2007 г.)