ИННОВАЦИИ БИЗНЕСУ

ПОДРОБНАЯ ИНФОРМАЦИЯ

Заявку на получение дополнительной информации по этому проекту можно заполнить здесь.

Номер

51-046-05

Наименование проекта

Установка для нанесения антикоррозионной изоляции на поверхности трубы

Назначение

Нанесение антикоррозионной изоляции на внутреннюю и наружную поверхности труб перед монтажом.

Рекомендуемая область применения

Строительство и ремонт трубопроводов водоснабжения, канализации и оросительных систем.

Описание

Результат выполнения научно-исследовательской работы.

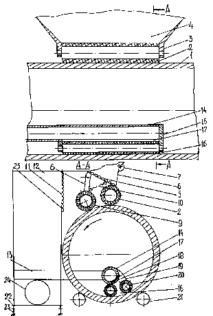
Установка размещается на стационарном участке для антикоррозионной изоляции трубы 1 (см. рисунок) и включает распределительный валик 2, установленный на кронштейнах 3, которые закреплены к ванне 4. Распределительный валик 2 имеет эластичное покрытие, стойкое к воздействию материалов покрытия. На дне ванны 4, имеющей уклон к распределительному валику 2 предусмотрены нагревательные элементы 5. Боковая стенка ванны, сопрягаемая с дном, имеет регулируемую заслонку 6, установленную с помощью сектора 7. К дну ванны 4 с помощью подвижного кронштейна 8 закреплен щеточный растирочный валик 9 с пружиной растяжения 10. Установка смонтирована на эстакаде 11, к которой приварен кронштейн 12 для монтажа устройства для нанесения антикоррозионной изоляции на наружную поверхность трубы, а для устройства антикоррозионной изоляции внутренней поверхности трубы предусмотренl-образный кронштейн 13 соединенный со штангой 14, на кронштейнах 15 которой смонтирован распределительный валик 16 с эластичным покрытием?стойким к воздействию материалов покрытия. Над распределительным валиком 16 в штанге 14 предусмотрено прямоугольное регулируемое отверстие 17. Для регулировки сечения отверстия 17 используется шайба 18, представляющая собой часть боковой поверхности цилиндра. За распределительным валиком 16 с помощьюупругого поводка 19 на штанге 14 смонтирован щеточный растирочный валик 20.Изолируемая труба 1 установлена на опорно-приводных роликах 21. Эстакада 11 колесами 22 опирается на рельсы 23. Возвратно-поступательное перемещение эстакады 11 обеспечивается мотор-редуктором 24. Для регулировки устройства для наружной изоляции по высоте предусмотрен реечный механизм 25.

Установка для нанесения антикоррозионной изоляции на поверхности труб работает следующим образом.Изолируемая труба 1 устанавливается на опорно-приводные ролики 21 и фиксируется буртиками, предусмотренными на роликах 21. Эстакада 11 перемещается с помощью мотор - редуктора 24 к началу изолируемой трубы и фиксирует устройства для наружной и внутренней изоляции таким образом, чтобы концы распределительных валиков 2,16 находились на уровне концевой кромки изолируемой трубы 1.Устройство для наружной изоляции с. помощью реечного механизма 11 опускается до касания распределительным валиком поверхности трубы 1, затем устанавливается необходимый зазор между поверхностью трубы 1 и распределительным валиком 2 равный толщине наносимого покрытия. Ванна 4 заполняется материалом покрытия. Насос-дозатор (на рис. не показан) для подачи материала покрытия на внутреннюю поверхность трубы подключается к емкости с подготовленным материалом покрытия (на рис. не показана). Включаются нагревательные элементы 5, которые обеспечивают необходимую вязкость материала покрытия. Регулируемой заслонкой 6 устанавливается заданный зазор, обеспечивающий необходимую подачу материала покрытия. Включается привод трубы 1 во вращение и подача материала покрытия насосом-дозатором в штангу 14. После выполнения полного оборота трубы 1 включается продольное перемещение эстакады 11 с устройствами для наружной и внутренней изоляции. Устройство для наружной изоляции трубы при этом выполняет следующие технологические операции. Материал покрытия из ванны 4 через зазор между дном и регулируемой заслонкой 6 поступает равномерным потоком на распределительный валик 2 с эластичным покрытием. Распределительный валик 2 устанавливается над наружной поверхностью трубы таким образом, чтобы обеспечивалась подача материала покрытия заданной толщины. Материал покрытия поступает под распределительный валик 2 и равномерно наносится на наружную поверхность трубы 1 . Образующиеся при этом воздушные пузыри и непрокрашенные места заделываются щеточным растирочным валиком 9, который поджимается к поверхности трубы 1 с помощью пружины растяжения 10.

Устройство для нанесения антикоррозионной изоляции на внутреннюю поверхность трубы, присоединенное к эстакаде 11 с помощьюl-образного кронштейна 13 работает следующим образом. Материал покрытия насосом-дозатором подается в штангу 14 с отрегулированным на заданную норму подачи материала покрытия отверстия 17 с помощью шайбы 18. При вращении изолируемой трубы 1, материал покрытия поступает под распределительный валик 16, который при этом всплывает над внутренней поверхностью трубы 1 и равномерно наносит материал покрытия. Образующиеся при этом воздушные пузыри и непрокрашенные места заделываются щеточным растирочным валиком 20. При включении продольного перемещения эстакады 1 устройства для нанесения антикоррозионной изоляции на внутреннюю поверхность трубы работают синхронною. Технология нанесения антикоррозионной изоляции на поверхности труб на предлагаемой установке включает предварительную обработку поверхности трубы преобразователями (модификатором) ржавчины, а затем нанесение на поверхности трубы материала покрытия. При необходимости нанесения на наружную поверхность трубы усиленной или весьма усиленной изоляции за устройством для наружной изоляции монтируется катушка с рулонным армирующим материалом.


Зарегистрировано в Федеральном институте промышленной собственности.

№ 2005108781/06(010434) от 28.03.2005 г.

Положительный результат форменной экспертизы заявки на изобретение.

Преимущества перед известными аналогами

Простота конструкции, надежность работы, повышение качества нанесенного покрытия, повышенная производительность, возможность нанесения усиленной антикоррозионной изоляции.

Стадия освоения

Внедрено в производство

Результаты испытаний

Соответствует технической характеристике изделия (устройства)

Технико-экономический эффект

Повышение производительности в 2 раза, увеличение долговечности изолируемых труб, снижение стоимости изоляции.

Возможность передачи за рубеж

Возможна передача за рубеж

Дата поступления материала

06.06.2005

Инновации и люди

У павильонов Уральской выставки «ИННОВАЦИИ 2010» (г. Екатеринбург, 2010 г.)

Мероприятия на выставке "Инновации и инвестиции - 2008" (Югра, 2008 г.)

Открытие выставки "Малый бизнес. Инновации. Инвестиции" (г. Магнитогорск, 2007 г.)

Демонстрация разработок на выставке "Малый бизнес. Инновации. Инвестиции" (г. Магнитогорск, 2007 г.)