ИННОВАЦИИ БИЗНЕСУ

ПОДРОБНАЯ ИНФОРМАЦИЯ

Заявку на получение дополнительной информации по этому проекту можно заполнить здесь.

Номер

02-099-04

Наименование проекта

Лесозаготовительная машина

Назначение

Для использования в лесной промышленности.

Рекомендуемая область применения

Лесозаготовительная техника.

Описание

Результат выполнения конструкторской разработки.

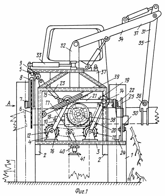
На фиг. 1 изображена лесозаготовительная машина при закреплении коником комлевой части дерева, вид сзади. Пунктиром показано дерево при возможной подготовке для протаскивания очередного дерева для обрезки сучьев.

На фиг. 2 - вид сбоку задней части лесозаготовительной машины при подготовке для трелевки дерева. На фиг. 3 - вид по А на фиг. 1 - данная машина при протаскивании дерева на сортименты и пиловочник.

Лесозаготовительная машина, включающая ходовое шасси 1 колесного или трелевочного трактора, снабжена лонжеронами 2, на которых закреплено основание 3. Внутри основания размещены сучкорезно-протаскивающее устройство 4 и раскряжевочный механизм 5, состоящий из дисковой пилы 6 с приводом вращения от гидромотора 7 и поворота пилы за счет рычага 8, приводимого в действие гидроцилиндром 9.

Сучкорезно-протаскивающее устройство выполнено в виде двух параллельных четырехзвенников 10 и 11, соединенных между собой осями 12, 13, 14 и 15, которые снабжены роликами. Нижние протаскивающие ролики 16 связаны между собой цепной передачей 17 и приводятся во вращение от вала отбора мощности ходового шасси через редуктор 18, который уменьшает обороты вала отбора мощности в четыре раза и обеспечивает прямолинейное движение дерева со скоростью 1 - 1,5 м/сек.

Верхний протаскивающий ролик 19 вращается посредством паразитной шестерни и цепной передачи 20, при этом нижние протаскивающие ролики 16 вращаются по часовой стрелке, а верхний - против часовой, что обеспечивает движение дерева при протаскивании вперед.

Продольные верхние звенья 21 в передней части несут полукольцевой нож 22, а сзади соединены со штоком гидроцилиндра 23, которые предназначены для сжатия четырехзвенников при протаскивании дерева с целью обрезки сучьев и осуществляют следящее действие ножа при обрезке сучьев в связи с уменьшением диаметра дерева.

На передней части рамы 24 сучкорезно-протаскивающего устройства закреплена вилка 25 для приема комлевой части дерева при протаскивании. На вилке с боковых сторон закреплены подвижные ножи 26 и 27 с приводом поворота их гидоцилиндром 28 посредством тяги 29, при этом вилка снабжена снизу неподвижным съемным ножом 30 полукольцевой формы.

На основании 3 в вернхей части смонтирован гидроманипулятор 31 на поворотной колонне 32, которая поворачивается гидроцилиндром 33 и состоит из стрелы 34, рукояти 35 и грейферного захвата 36. Основание в передней части снабжено площадкой для крепления и монтажа трехсекционных гидрораспределителей 37 с целью вывода в кабину рычагов для управления ими оператором, а сзади снабжено коником 38, имеющим форму полукольца, снабженного зубчатым сектором. Сверху коника расположен зажимной рычаг 39, который поворачивается относительно оси, расположенной на вертикальной стойке основания, при сжатии четырехзвенного параллелограмма механизма сучкорезно-протаскивающего устройства, при этом взаимодействует с осью 15 верхнего ролика.

Лонжероны 2 снабжены аутригерами 40 и серьгой 41 для присоединения тележки с целью перевозки сортиментов, пиловочника, сучьев и лесосечных отходов. Сучкорезно-протаскивающее устройство, расположенное внутри основания, не исключено от исполнения, когда два нижних протаскивающих ролика вращаются от привода редуктора посредством цепной передачи и дерево прижимается к ним посредством верхнего нажимного ролика, закрепленного на рычаге, имеющем ось поворота на основании, при этом будет отсутствовать верхний нож, что ухудшает процесс обрезания сучьев. Данная конструкция может быть применена при обрезке сучьев на тонкомерных деревьях.

Лесозаготовительная машина работает в режиме трелевочной, а также в режиме сучкорезно-раскряжевочно транспортной машины для перевозки сортиментов, пиловочника, сучьев и порубочных остатков следующим образом.

Машина въезжает (под пологом кроны) между деревьями к поваленному очередному дереву лесорубами, производящими осветление или санитарные рубки. Опускает аутригеры 40 на землю и вывешивает машину. Наводит гидроманипулятор 31 параллельно оси дерева и грейферным захватом 36 укладывает в коник 38, зажимает рычагом 39 комлевую часть дерева и трелюет его на площадку для обрезки сучьев и раскряжевки. Таким образом машина перевозит все деревья, поваленные лесорубами, на открытую площадку с целью обрезки сучьев и раскряжевки. Следующей операцией машина производит обрезку сучьев на всех деревьях и раскряжевку, которые она переместила на площадку. Для этого она заходит параллельно и перемещается относительно комлевых частей деревьев, сложенных в один ряд. Останавливается, выдвигает аутригер на землю. Гидроманипулятор устанавливает параллельно оси дерева, предназначенного для обрезки сучьев, захватывает грейферным захватом и конец комлевой части укладывает в приемную вилку 25 таким образом, чтобы она вошла между верхним и нижним протаскивающими роликами 16, 19. Включается вал отбора мощности, ролики 16, 19 начинают вращаться, дерево перемещается вперед и сучьями находит на верхний и нижний ножи 22, 30, а также после включения гидроцилиднра 28 на подвижные ножи 26 и 27, которые обрезают сучья с боковых сторон дерева.

При выходе дерева после сучкорезного устройства необходимой длины вал отбора мощности останавливают, ролики прекращают протягивать дерево.

Включается гидромотор 7 вращения дисковой пилы 6 и гидроцилиндр 9, который поворачивает рычаг, перемещаясь, пила отрезает баланс необходимой длины.

После обрезки сучьев и раскряжевки на балансы всех деревьев, находящихся на площадке, машина подходит к прицепной тележке, цепляет ее за серьгу 41 и перемещается к балансам, грузит их гидроманипулятором в тележку и везет их потребителю или на верхний склад. После перевозки всех балансов производит перевозку сучьев, для этого использует грейферный захват гидроманипулятора.

Преимущества перед известными аналогами

Полная утилизация отходов, повышение производительности.

Стадия освоения

Внедрено в производство

Результаты испытаний

Технология обеспечивает получение стабильных результатов

Технико-экономический эффект

Повышение производительности труда в 7 раз.

Возможность передачи за рубеж

Возможна передача за рубеж

Дата поступления материала

01.12.2004

Инновации и люди

У павильонов Уральской выставки «ИННОВАЦИИ 2010» (г. Екатеринбург, 2010 г.)

Мероприятия на выставке "Инновации и инвестиции - 2008" (Югра, 2008 г.)

Открытие выставки "Малый бизнес. Инновации. Инвестиции" (г. Магнитогорск, 2007 г.)

Демонстрация разработок на выставке "Малый бизнес. Инновации. Инвестиции" (г. Магнитогорск, 2007 г.)