ИННОВАЦИИ БИЗНЕСУ

ПОДРОБНАЯ ИНФОРМАЦИЯ

Заявку на получение дополнительной информации по этому проекту можно заполнить здесь.

Номер

29-060-04

Наименование проекта

Жидкостные сезоннодействующие охладлающие устройства (СОУ) с плоским струеразделителем

Назначение

Повышение несущей способности грунтов путем понижения их температуры

Рекомендуемая область применения

Строительство на пластично-мерзлых грунтах

Описание

Описание к ИЛ № 29-060-04

Результат выполнения конструкторско-технологической разработки.

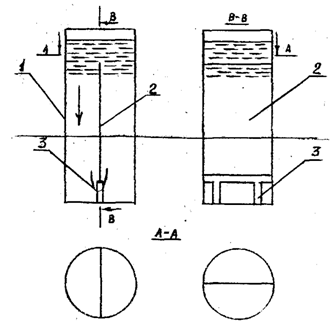
Устройство состоит (см. рис.) из заглубленного в грунт и заполненного незамерзающей жидкостью (керосином) трубчатого корпуса 1 и перегородки 2 на ножках 3, делящей пространство СОУ по вертикали на две равные части.

Перегородка вставлена в корпус с зазорами над дном и под поверхностью керосина. Перегородка выполнена из гибкого материала (брезента). Для удобства установки в вертикальной трубе и придания плоской формы низ перегородки в пределах 0,5-1 высоты сделан из листовой стали и совместно с ножками играет роль пригруза. Назначение перегородки с зазорами - создание замкнутой двухканальной системы.

Количество заливаемого в СОУ керосина (Р, кг) равно

Р=798:v, где

v- объем СОУ, м 3

Работает СОУ в холодное время года, когда температура воздуха на 5-10 и более градусов ниже температуры грунта.

При работе в верхней надземной части керосин охлаждается и уплотняется, а в нижней подземной - нагревается и расширяется в объеме. Создается гравитационный потенциал, под действием которого холодный керосин по одному из каналов перемещается вниз, а нагретый - по другому каналу вверх. Обменявшиеся местами теплый и холодный объемы керосина вновь охлаждаются (в надземной части СОУ) и нагреваются (в подземной) и т.д. Такие теплообменные циклы, в процессе которых происходит охлаждение грунта, повторяются до тех пор, пока величины температур воздуха и окружающего грунта не сравняются.

Разработан метод расчета двухканального СОУ, который включает в себя определение геометрических параметров, скорости циркуляции, коэффициента теплоотдачи и температурного режима вмещающего грунта.







Рис. Жидкостное сезонно действующее охлаждающее устройство с плоским струеразделителем

Преимущества перед известными аналогами

СОУ позволяет понизить темпер-ры окруж. грунта к концу зимы на 6-12° и более. Эффективность СОУ повышается на 20-30%, если придать перегородке форму, обеспеч-ую дифференциацию условий нагрева и охлажд-я как по вертикали, так и по вертикали

Стадия освоения

Внедрено в производство

Результаты испытаний

Обеспечивается получение стабильных результатов

Технико-экономический эффект

Сокращение расхода материала на изготовление струеразделителя в 2-3 раза

Возможность передачи за рубеж

Возможна передача за рубеж

Дата поступления материала

11.04.2004

Инновации и люди

У павильонов Уральской выставки «ИННОВАЦИИ 2010» (г. Екатеринбург, 2010 г.)

Мероприятия на выставке "Инновации и инвестиции - 2008" (Югра, 2008 г.)

Открытие выставки "Малый бизнес. Инновации. Инвестиции" (г. Магнитогорск, 2007 г.)

Демонстрация разработок на выставке "Малый бизнес. Инновации. Инвестиции" (г. Магнитогорск, 2007 г.)