ИННОВАЦИИ БИЗНЕСУ

ПОДРОБНАЯ ИНФОРМАЦИЯ

Заявку на получение дополнительной информации по этому проекту можно заполнить здесь.

Номер

29-013-04

Наименование проекта

Циркуляционное устройство

Назначение

Служит для ввода водопровода в сборно-разборное здание в районах с вечномерзлыми грунтами

Рекомендуемая область применения

Строительство, устройство водоснабжения населенных мест

Описание

Описание к ИЛ № 29-013-04

Результат выполнения конструкторско-технологической разработки.

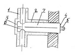
Циркуляционное устройство состоит (см. рис.) из наружного надземного трубопровода 1 и вводной трубы 2 с теплоизоляцией. Оба торца трубы перекрыты заглушками - наружной, глухой 3 и внутренней 4, причем последняя снабжена штуцером 5. По оси наружного трубопровода 1 и по вводной трубе просверлены отверстия 6, а вдоль трубы установлена диафрагма 7, примыкающая вплотную к глухой заглушке 3 и не доходящая до внутренней 4.

Внутренняя заглушка имеет отверстие, выполненное соосно с отверстиями в вводной трубе.

Устройство работает следующим образом. Вода из надземного наружного трубопровода поступает в отверстие вводной трубы и далее частично проходит через отверстие в продольной диафрагме в наружный трубопровод, а частично - по каналу, образованному цилиндрической поверхностью вводной трубы и продольной диафрагмой - на потребление в здание (при наличии водозабора) или на циркуляцию (при отсутствии водозабора).

Кроме того, при диаметре наружного трубопровода, большем диаметра вводной трубы, вода частично проходит транзитом, минуя вводную трубу. При этом циркуляция воды во вводе обеспечивается за счет динамического напора у отверстия трубы со стороны набегающего потока жидкости и пониженного статического напора у отверстия с противоположной стороны трубы.







                                        Рис. Циркуляционное устройство

Преимущества перед известными аналогами

Ввод от надземного магистрал-го трубопровода при различ-х диаметрах вводной и магистральной труб выполнен циркуляц-ным в одной трубе с продольной диафрагмой, обеспеч-ей постоянную циркуляцию воды как при водозаборе, так и при его отсутствии

Стадия освоения

Внедрено в производство

Результаты испытаний

Обеспечивается стабильная работоспособность при эксплуатации

Технико-экономический эффект

Снижение расходов материалов на 30 % на монтаж и демонтаж вводов в сборно-разборные здания

Возможность передачи за рубеж

Возможна передача за рубеж

Дата поступления материала

09.12.2003

Инновации и люди

У павильонов Уральской выставки «ИННОВАЦИИ 2010» (г. Екатеринбург, 2010 г.)

Мероприятия на выставке "Инновации и инвестиции - 2008" (Югра, 2008 г.)

Открытие выставки "Малый бизнес. Инновации. Инвестиции" (г. Магнитогорск, 2007 г.)

Демонстрация разработок на выставке "Малый бизнес. Инновации. Инвестиции" (г. Магнитогорск, 2007 г.)