ИННОВАЦИИ БИЗНЕСУ

ПОДРОБНАЯ ИНФОРМАЦИЯ

Заявку на получение дополнительной информации по этому проекту можно заполнить здесь.

Номер

51-030-04

Наименование проекта

Устройство для переработки плодов бахчевых культур

Назначение

Переработка продукции бахчеводства.

Рекомендуемая область применения

Сельскохозяйственное производство, перерабатывающая промышленность.

Описание

Результат выполнения научно-исследовательской работы.

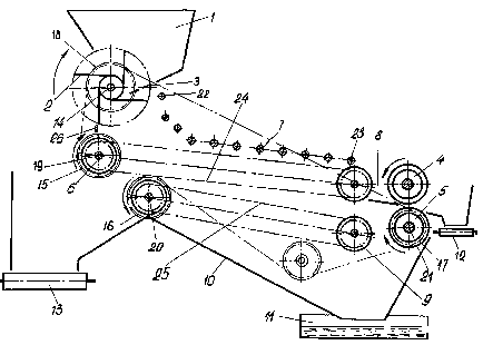
Устройство для переработки плодов бахчевых культур содержит камеру и смонтированные на её стенках и основании приемный бункер 1 (см. рисунок), измельчающий барабан 2, пальцевое подбарабанье 3, приспособление для выделения сока из мякоти плодов в виде встречно вращающихся приводных вальцов 4 и 5. транспортер 6 для подачи измельченной массы к протирочному решету 7. промежуточный лоток 8, транспортер 9 выноса семян, наклонный поддон 10 для стока сока и схода мякоти переработанных плодов, емкость 11 для сока, транспортер 12 отходов и транспортер 13 семян. Вал 14 измельчающего барабана 2 через эластичную муфту соединен с валом электродвигателя. На консольной части вала 14 измельчающего барабана 2 размещена ведущая спаренная звездочка 15 с шагом 15,385 мм. Ведущая звездочка 15 вала 14 барабана 2 посредством двухрядной цепной передачи соединена с аналогичными звездочками 16, 17 и 18 соответственно на ведущих валах 19, 20 и 21 транспортера 6, транспортера 9 и нижнего вальца 5 приспособления для выделения сока. Направления вращения ведущих валов 14. 19, 20 и 21 показано на чертеже стрелками. Протирочное решето 7 выполнено из последовательно установленных стальных прутков диаметром 12-16мм. Прутки по длине решета 7 установлены с равным шагом или с уменьшением шага между смежными прутками в сторону промежуточного лотка 8. Протирочное решето 7 крайними прутками 22 и 23 сопряжено с пальцевым подбарабаньем 3 и промежуточным лотком 8. Смонтированные под решетом 7 транспортер 6 для подачи измельченной массы и установленный под ним транспортер 9 выноса семян имеют разные углы наклонов к горизонту и линейные скорости ведущих ветвей 24 и 25. Установленный в нижней части камеры под ярусно размещенными узлами - решетом 7 и транспортерами 6 и 9 - поддон 10 для стока сока и сходамякоти выполнен двускатным. Измельчающий барабан 2 в виде набора вырезных дисковых ножей снабжен отбойной плитой 26. Плита 26 установлена над ведущим валом 19 транспортера 6 для подачи измельченной массы.

Устройство для переработки плодов бахчевых культур работает следующим образом. Вымытые плода, например арбуза, подают вручную в приемный бункер 1. При включенном электродвигателе путем нажатия на кнопку"пуск"поста магнитного пускателя ножам измельчающего барабана 2 придается требуемая частота вращения. Резание плода на дольки ножами барабана 2 производится на пальцевом подбарабанье 3. Разрезанные доли падают на ветвь транспортера 6. Отбойная плита 26 очищает ножи измельчающего барабана 2 от нависших кусков. Отрезанные от круглого плода шаровые слои и шаровые сегменты элементами бесконечной ветви транспортера 6 транспортируются в полость протирочного решета 7. Прутками решета 7 от мякоти арбуза (дыни, тыквы и т.д.) отделяются семена с мезгой. Жидкая и студенистая масса проваливается через элементы транспортера 6 и поступает на ячейки транспортера 9. Через ячейки транспортера свободно стекает сок и студенистая масса. Корки арбуза с мякотью в дольках в зазор между последним прутком 23 и верхним элементом транспортера 6 поступают на промежуточный лоток 8. С лотка 8 масса захватывается ведомым приводньм вальцом 4 и направляется в межвальцовое пространство пары вальцов 4 и 5. Мякоть сдавливается вальцами 4 и 5. Сок из мякоти поступает по стенке камеры в емкость 11. Выжатая мякоть транспортером 12 выводится из полости камеры за её пределы и выгружается в кузов тракторной тележки для отвоза в кормоцех. За счет разницы скоростей и уменьшающегося зазора между ведущими ветвями транспортеров 6 и 9 элементами бесконечной ветви транспортера 6 и ячейками бесконечной ветви транспортера 9 семена интенсивно перетираются из мезги. Ячейками транспортера 9 семена сбрасываются на крутую грань поддона 10. Направленные поддоном 10 семена арбузов транспор­тером 13 перемещаются в емкость с водой для смыва слизи.

Таким образом, постановка транспортеров 6 и 9 под разными углами к горизонту, отбойной плиты 26 над ведущим валом 19транспортера 6 и прутьев протирочного решета 7 от пальцевого подбарабанья 3 до лотка 8 обеспечивают полное выделение семян из мякоти с минимальным механическим травмированием. Исключение забивания разрезанными дольками арбуза и других плодов бахчевых культур способствовали непрерывному выполнению технологического процесса и повышению производительности устройства по сравнению с базовом объектом на 60-70% при тех же энергозатратах.




Преимущества перед известными аналогами

Простота конструкции, надежность работы, полнота разделения, низкая энергоемкость, высокая производителньость.

Стадия освоения

Внедрено в производство

Результаты испытаний

Соответствует технической характеристике изделия (устройства)

Технико-экономический эффект

Снижение себестоимости продукции на 40%; снижение трудоемкости переработки на 25%; уменьшение энергозатрат на 35%; повышение качества разаделения.

Возможность передачи за рубеж

Возможна передача за рубеж

Дата поступления материала

06.04.2004

Инновации и люди

У павильонов Уральской выставки «ИННОВАЦИИ 2010» (г. Екатеринбург, 2010 г.)

Мероприятия на выставке "Инновации и инвестиции - 2008" (Югра, 2008 г.)

Открытие выставки "Малый бизнес. Инновации. Инвестиции" (г. Магнитогорск, 2007 г.)

Демонстрация разработок на выставке "Малый бизнес. Инновации. Инвестиции" (г. Магнитогорск, 2007 г.)