ИННОВАЦИИ БИЗНЕСУ

ПОДРОБНАЯ ИНФОРМАЦИЯ

Заявку на получение дополнительной информации по этому проекту можно заполнить здесь.

Номер

52-008-03

Наименование проекта

Корпус плуга

Назначение

Уменьшение износа передней и задней части полевой доски, снижение тягового сопротивления корпуса плуга за счет уменьшения сил трения

Рекомендуемая область применения

Сельскохозяйственное машиностроение

Описание

008-03

Результат выполнения научно-исследовательской работы.

Предлагаемая полезная модель относится к области сельскохозяйственногомашиностроения, в частности к рабочим органам почвообрабатывающих орудий.

Недостатками существующих корпусов плуга является то, что полевая доскакорпуса плуга изнашивается неравномерно. При движении по криволинейнойтраектории полевая доска врезается в боковую стенку борозды, нарушает еецелостность, что создает дополнительное сопротивление, увеличивая тяговоесопротивление.

Задачей предлагаемого технического решения является уменьшение износапередней и задней части полевой доски, снижение тягового сопротивлениякорпуса плуга за счет уменьшения сил трения.

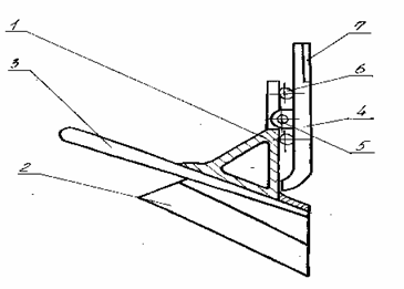
Корпус плуга содержит стойку 1, лемех 2, отвал 3 (смотри чертеж корпусаплуга). Полевая доска 4 закреплена своей средней частью на стойке посредствомшарнира с вертикальной осью 5 и подпружинена демпфирующими роликами 6. Упругость заднего демпфирующего ролика больше переднего демпфирующегоролика в 2 раза. Передняя часть полевой доски корпуса плуга выполненаизогнутой вправо по радиусу не более 40 мм. Для уменьшения износа задней частиполевой доски корпуса плуга с наружной стороны прикреплена пластина 7 изантифрикционного полимерного материала, например из фторопласта.

Корпус плуга работает следующим образом:

При движении по полю трактора корпус плуга заглубляется в почву. Лемехподрезает и частично крошит пласт почвы. Отвал осуществляет дальнейшеекрошение пласта почвы, оборот и укладку в борозду. Полевая доска препятствуетсмещению корпуса плуга в сторону невспаханного поля. Изогнутая вправо по радиусу не более 40 мм передняя часть полевой доски исключает ее врезание впочву. Полевая доска подпружинена относительно вертикальной стойки двумядемпфирующими роликами разной упругости, что позволяет равномернораспределить давление на полевую доску, и она скользит по боковой стенкеборозды. Снабжение пластиной из антифрикционного полимерного материалазадней части полевой доски также способствует скольжению полевой доски побоковой стенке борозды.

При работе корпуса плуга в почве пластина полевой доски изнашиваетсябыстрее и заменяется новой, что повышает срок службы полевой доски.



Применение предлагаемого корпуса плуга снижает износ передней и заднейчасти полевой доски на 40 процентов, снижает тяговое сопротивление корпусаплуга на 15-20 процентов, уменьшает разрушение структуры почвы на 50процентов, значительно улучшает устойчивость плуга в горизонтальнойплоскости.

Разрешено к публикации в БД.




Преимущества перед известными аналогами

Снижение тягового сопротивления корпуса плуга

Стадия освоения

Опробовано в условиях опытной эксплуатации

Результаты испытаний

Технология обеспечивает получение стабильных результатов

Технико-экономический эффект

Предлагаемая конструкция корпуса плуга позволяет снизить тяговое сопротивление корпуса плуга на 15-20%.

Возможность передачи за рубеж

Возможна передача за рубеж

Дата поступления материала

23.10.2003

Инновации и люди

У павильонов Уральской выставки «ИННОВАЦИИ 2010» (г. Екатеринбург, 2010 г.)

Мероприятия на выставке "Инновации и инвестиции - 2008" (Югра, 2008 г.)

Открытие выставки "Малый бизнес. Инновации. Инвестиции" (г. Магнитогорск, 2007 г.)

Демонстрация разработок на выставке "Малый бизнес. Инновации. Инвестиции" (г. Магнитогорск, 2007 г.)