ИННОВАЦИИ БИЗНЕСУ

ПОДРОБНАЯ ИНФОРМАЦИЯ

Заявку на получение дополнительной информации по этому проекту можно заполнить здесь.

Номер

51-246-03

Наименование проекта

Пакер

Назначение

Расширение функциональных возможностей и повышение герметизируемого давления скважины при снижении энергоемкости процесса.

Рекомендуемая область применения

Техника бурения, обоустройство и ремонт скважин.

Описание

Результат выполнения научно-исследовательской работы.

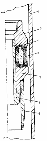
Пакер содержит корпус с упорами, цилиндрические центраторы и уплотнительные элементы. Каждый уплотнительный элемент выполнен, по крайней мере, из двух концентрично расположенных с зазором эластичных цилиндрических оболочек. Они снабжены по торцам дополнительной П-образной манжетой с кольцевой полостью, в которой размещены торцы указанной эластичной цилиндрической оболочки так, что П-образные манжеты по образующей линии создают прямоугольную форму сечения стенки уплотнительного элемента. По основаниям манжет обеих оболочек закреплены разделительные кольца. Центрирующие кольца выполнены с утопающими между оболочками кольцевыми выступами, на противолежащих сторонах которых выполнены кольцевые канавки, взаимодействующие посредством цилиндрических центраторов с упорами корпуса. В зазор между оболочками помещено передаточное звено из эластичного материала. Поверхностный слой наружной и внутренней сторон уплотнительного элемента имеет более высокий модуль упругости, чем соответствующий показатель сердцевины эластичной цилиндрической оболочки.

Цель изобретения состоит в расширении функциональных возможностей и повышении герметизируемого скважинного давления при снижении энергоемкости процесса за счет уменьшения усилий на деформацию уплотнительного элемента, расширения кольцевого уплотнительного участка и предотвращения выдавливания упругой массы в уплотняемый зазор при высоких давлениях со стороны скважины.


Пакер содержит корпус 1 (см. рисунок) с буртом в нижней части, на который (с посадкой на корпус) установлен нижний (ниппельный) упор 2. В верхней части корпуса на резьбе посажен верхний (муфтовый) упор 3. Между упорами 2 и 3, посредством двух цилиндрических центраторов 4, на корпус 1 посажен уплотнительный элемент 5. Нижний упор 2 имеет наружную резьбу, на которую навернут переводник 6, заканчивающийся конической (насосно-компрессорной) резьбой для связи с продолжением насосно-компрессорной трубы. Пакер размещен в скважине в обводной трубе 7 с определенным зазором.

Преимущества перед известными аналогами

Каждый уплтнитнитеьный элемент выполнен, по крайней мере, из двух концентрично расположенных с зазором эластичных цилиндррических оболочек.

Стадия освоения

Внедрено в производство

Результаты испытаний

Технология обеспечивает получение стабильных результатов

Технико-экономический эффект

Снижение энергоемкости процесса на 30%.

Возможность передачи за рубеж

Возможна передача за рубеж

Дата поступления материала

15.12.2003

Инновации и люди

У павильонов Уральской выставки «ИННОВАЦИИ 2010» (г. Екатеринбург, 2010 г.)

Мероприятия на выставке "Инновации и инвестиции - 2008" (Югра, 2008 г.)

Открытие выставки "Малый бизнес. Инновации. Инвестиции" (г. Магнитогорск, 2007 г.)

Демонстрация разработок на выставке "Малый бизнес. Инновации. Инвестиции" (г. Магнитогорск, 2007 г.)