ИННОВАЦИИ БИЗНЕСУ

ПОДРОБНАЯ ИНФОРМАЦИЯ

Заявку на получение дополнительной информации по этому проекту можно заполнить здесь.

Номер

31-092-03

Наименование проекта

Машина для уборки корнеплодов, лука и чеснока

Назначение

Уборка корнеплодов, чеснока, лука

Рекомендуемая область применения

Сельское хозяйство

Описание

Результат выполнения конструкторской разработки.

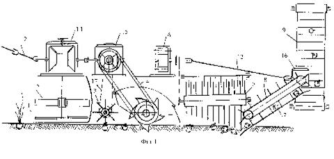
Машина для уборки корнеплодов, лука и чеснока содержит приспособление для среза ботвы с помощью ножей 1 и удаления ее из зоны убираемых рядков растений бичами 2, фрезу 4 для подготовки ложа - рыхления почвы и уничтожения сорняков в междурядьях растений. Вслед за ножами для среза ботвы установлено приспособление в виде вращающегося барабана для доочистки корнеплодов от остатков ботвы. На поверхности барабана по периметру окружности, перпендикулярно оси вращения шарнирно закреплены гибкие элементы - бичи 3. Машина также имеет устройство для извлечения убираемых культур из почвы и укладки их в валок на подготовленное ложе, выполненное в виде выкапывающих гребенчатых шнеков 5 с приводом от редуктора 6. После выкапывающих гребенчатых шнеков смонтировано устройство 7 для подбора продукции из валков и отделения примесей от убираемых культур с погрузкой товарной продукции втранспортные средства.

Устройство 7 для выполнено в виде тростевого сепарирующего устройства, которое состоит из продольно расположенных под углом к поверхности почвы тростей, закрепленных с возможностью изменения пространства между ними, и наклонного транспортера 8.

Сепарирующее устройство 7 обеспечивает подбор убираемых культур, отделение органических примесей и подачу корнеплодов, луковиц на транспортер 9 для загрузки в транспортные средства. Заданная глубина хода рабочих органов устанавливается с помощью опорных колес 10 винтовым механизмом 11, путем изменения их положения относительно поверхности почвы. Привод рабочих органов осуществляется от ВОМ энергосредства через карданную передачу 12, трансмиссионный вал 13, редукторы 14, 15, 16, цепные 17 и ременные передачи.


Машина работает следующим образом:

При движении агрегата ножи срезают ботву сельскохозяйственных культур на заданном уровне, измельчают и с помощью бичей 2 выбрасывают ее за пределы убираемых рядков, в сторону ранее убранного участка поля. Гибкие элементы - бичи 3 - при вращении барабана, ударяя по корнеплоду, очищают его от оставшихся частиц ботвы, обеспечивая доочистку товарной продукции. Затем гребенчатые шнеки, вращаясь, извлекают из почвы корнеплоды, луковицы, формируя их в валок, который с помощью подбирающего устройства направляется на сепарирующее тростевое устройство, где отделяются почвенные и органические примеси, а затем с помощью наклонного транспортера убираемая продукция сбрасывается на поперечный транспортер, который направляет корнеплоды, луковицы в кузов транспортного средства.

Преимущества перед известными аналогами

Расширение сферы применения машины

Стадия освоения

Внедрено в производство

Результаты испытаний

Технология обеспечивает получение стабильных результатов

Технико-экономический эффект

Улучшение качества товарной продукции, снижение энергоемкости технологического процесса уборки в 1,4-1,7 раза

Возможность передачи за рубеж

За рубеж не передаётся

Дата поступления материала

16.12.2003

Инновации и люди

У павильонов Уральской выставки «ИННОВАЦИИ 2010» (г. Екатеринбург, 2010 г.)

Мероприятия на выставке "Инновации и инвестиции - 2008" (Югра, 2008 г.)

Открытие выставки "Малый бизнес. Инновации. Инвестиции" (г. Магнитогорск, 2007 г.)

Демонстрация разработок на выставке "Малый бизнес. Инновации. Инвестиции" (г. Магнитогорск, 2007 г.)