ИННОВАЦИИ БИЗНЕСУ

ПОДРОБНАЯ ИНФОРМАЦИЯ

Заявку на получение дополнительной информации по этому проекту можно заполнить здесь.

Номер

08-113-03

Наименование проекта

Установка для приготовления битумоминеральных смесей

Назначение

Производство дорожных покрытий

Рекомендуемая область применения

Строительство, промышленность строительных материалов, дорожное хозяйство

Описание

Результат выполнения конструкторской разработки.

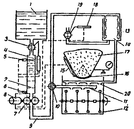
Установка для приготовления битумоминеральных смесей включает (см. рис.) расходную емкость 1 поверхностно-активных веществ, под которой расположен дозатор 2, а между ними - края З с приводом 4. Дозатор поверхностно-активных веществ имеет верхний 5 и нижний 6 датчики указателей уровня для автоматического управления установкой. Дозатор поверхностно-активных веществ соединен со всасывающей полостью насоса 7, снабженного приводом 8. Нагнетательная полость насоса трубопроводом 9, имеющим переключатель (кран) 10, соединена с распределительной трубой 11, находящейся в мешалке 12, и распределительными трубами 13, введенными в дозатор 14 битума.

Рис. Установка для приготовления смесей

Привод насоса 7 включается по команде исполнительного механизма 15, управляющего заслонкой 16 бункера 17 минеральных материалов, а выключается по команде от датчика 6 нижнего уровня. Этот же датчик дает команду приводу 4 на открытие крана 3. В дозатор 14 битум подается по команде исполнительного механизма 18, управляющего краном 19, а из дозатора - в мешалку 12 по трубе 20.

Работает установка следующим образом.

При открывании крана 3 приводом 4 поверхностно-активное вещество поступает самотеком в дозатор 2, в котором величина порции поверхностно-активного вещества устанавливается согласно рецептуре путем перемещения датчика 5 верхнего уровня. Как только уровень поверхностно-активного вещества в дозаторе дойдет до датчика верхнего уровня, последний дает команду приводу 4 на закрытие крана. Из дозатора поверхностно-активные вещества выкачиваются насосом 7 и по трубопроводу 9 поступают либо в распределительную трубу 11, либо в распределительные трубы 13 в зависимости от того, в какую часть асфальтобетонной установки требуется вводить добавки. Регулирование направления потока поверхностно-активных веществ производится переключателем 10. Из дозатора 14 битума поверхностно-активные вещества совместно с битумом поступают по трубе 20 в мешалку 12.

Установка для приготовления битумоминеральных смесей, включающая мешалку с распределительной трубой устройства для раздельного введения поверхностно-активных веществ в битумоминеральные смеси с распылителем, дозатор битума, насос, расходную емкость и дозатор поверхностно-активных веществ, отличается тем, что с целью обеспечения равномерного распределения изменяющихся в большом диапазоне поверхностно-активных веществ и введение их в разогретый битум непосредственно перед смешиванием, в дозаторе битума смонтированы распылители, связанные трубопроводом и переключателем с насосом и дозатором поверхностно-активных веществ.

Повышены качество, производительность и культура труда.

Стабилизирован рабочий процесс.

Преимущества перед известными аналогами

Конструкция установки

Стадия освоения

Внедрено в производство

Результаты испытаний

Технология обеспечивает получение стабильных результатов

Технико-экономический эффект

Повышение качества битумоминеральных смесей, производительности труда в 1,4 раза по сравнению с известными установками

Возможность передачи за рубеж

За рубеж не передаётся

Дата поступления материала

18.09.2003

Инновации и люди

У павильонов Уральской выставки «ИННОВАЦИИ 2010» (г. Екатеринбург, 2010 г.)

Мероприятия на выставке "Инновации и инвестиции - 2008" (Югра, 2008 г.)

Открытие выставки "Малый бизнес. Инновации. Инвестиции" (г. Магнитогорск, 2007 г.)

Демонстрация разработок на выставке "Малый бизнес. Инновации. Инвестиции" (г. Магнитогорск, 2007 г.)