ИННОВАЦИИ БИЗНЕСУ

ПОДРОБНАЯ ИНФОРМАЦИЯ

Заявку на получение дополнительной информации по этому проекту можно заполнить здесь.

Номер

82-086-03

Наименование проекта

Устройство дистанционного включения отключившихся секционирующих выключателей

Назначение

Сигнализация об аварийном отключении секционирующих выключателей СВ 6-10 кВ на питающей линии подстанции и дистанционном их включении с целью уменьшения перерывов в электроснабжении потребителей в электрических сетях

Рекомендуемая область применения

Ресонт, монтаж, эксплуатация электрооборудования и воздушных линий электропередач

Описание

Результат выполнения рационализаторского предложения.

Состоит из устройства сигнализации об аварийном отключении секционирующих выключателей СВ 6-10 кВ и устройства для дистанционного включения отключившихся выключателей.

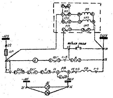
Устройство сигнализации монтируется и подключается к трансформатарам тока питающей линии подстанции. Оно состоит (см. рис. 1) из двух токовых реле 1РТ, 2РТ, двух промежуточных реле РП, РП-1; реле времен 1РВ; бленкера РУ.

Устройство работает следующим образом. При протекании тока короткого замыкания по питающей линии токовые реле замыкают свои контакты, через которое подается напряжение на катушку реле времени. Реле времени становится на самоподхват через свои контакты и контакты промежуточного реле РП-1.

По истечении трех секунд через проскальзывающие контакты реле времени срабатывают промежуточные реле РП и становятся на самоподхват через свои контакты и контакты РП-1, подготавливая цепь для прохождения сигнала о неуспешном автоматическом повторном включении. Реле РП-1 служит для возврата схемы

Параллельно к контактам РП подключена накладка "Н", которую включают при дистационном включении секционирующих выключателей СВ 6-10 кВ, через устройство дистанционных включений.

Устройство дистанционного включения отключившихся выключателей СВ 6-10 кВ (см. рис. 2) монтируется в ячейке СВ и подключается к шинам 220 В собственных нужд СВ.

Устройство состоит из двух промежуточных реле РП, 1 РП, с задержкой на отпадание.

Получив сигнал об отключении СВ, для его дистанционного включения необходимо:

- отключить вручную выключатель на питающей подстанции, выдержав время 2-3 с. (отпадают промежуточные реле РП, РП1, подготавливается цепь для подъема груза);

- включить выключатель на питающей линии подстанции;

- сразу после включения перевести накладку 1Н на питающей подстанции в положение «В».

Если после этого через 20-30 с бленкер «аварийное отключение» СВ 6-10 кВ снова выпадает и пройдет аварийный сигнал, то это значит, что выключатель СВ включился неуспешно.

Если сигнала не будет, то выключатель СВ включился.

После этих операций накладку ставят в положение "0".

Описанные устройства снизили недоотпуск электроэнергии потребителям, повысили надежность электроснабжения.

Рис. 1. Схема устройства сигнализации об аварийном отключении секционирующего выключения

Рис. 2. Схема устройства дистанционного включения аварийно отключившегося выключателя СВ-6-10 кВ

Преимущества перед известными аналогами

Схема устройства отличается простотой и удобством в работе

Стадия освоения

Внедрено в производство

Результаты испытаний

Технология обеспечивает получение стабильных результатов

Технико-экономический эффект

Годовой экономический эффект 39500 руб.; увеличение производительности труда на 20%

Возможность передачи за рубеж

Возможна передача за рубеж

Дата поступления материала

24.09.2003

Инновации и люди

У павильонов Уральской выставки «ИННОВАЦИИ 2010» (г. Екатеринбург, 2010 г.)

Мероприятия на выставке "Инновации и инвестиции - 2008" (Югра, 2008 г.)

Открытие выставки "Малый бизнес. Инновации. Инвестиции" (г. Магнитогорск, 2007 г.)

Демонстрация разработок на выставке "Малый бизнес. Инновации. Инвестиции" (г. Магнитогорск, 2007 г.)