ИННОВАЦИИ БИЗНЕСУ

ПОДРОБНАЯ ИНФОРМАЦИЯ

Заявку на получение дополнительной информации по этому проекту можно заполнить здесь.

Номер

61-058-03

Наименование проекта

Устройство для установки поверхностно-монтируемых изделий на печатные платы

Назначение

Для изготовления узлов радиоэлектронной аппаратуры на печатных платах

Рекомендуемая область применения

Производство радиоэлектронных систем и приборов

Описание

Результат выполнения конструкторской разработки.

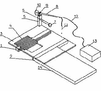
Устройствосостоит из неподвижной опоры 1 (см.рисунок), подвижной опоры 2, прозрачного основания 3, ленточного питателя 4, стойки 5, оси 6, винта 7, телескопической штанги 8, шарнира 9, противовеса 10, вакуумного пинцета 11, шланга 12, электронного блока 13 и подлокотника 14.

В целях уменьшения времени установки поверхностно-монтируемых изделий на печатные платы и расширения функциональных возможностей устройства изготовлен манипулятор, в который введены специальные ленточные питатели для хранения поверхностно-монтируемых изделий.

Ленточные питатели обеспечивают одинаковую ориентацию в горизонтальной и вертикальной плоскости поверхностно-монтируемых изделий. В ленточные питатели эти изделия поступают непосредственно с катушек, являющихся стандартной тарой для всех поставщиков поверхностно-монтируемых изделий. Из ленточных питателей эти изделия извлекаются вакуумным пинцетом, входящим в состав устройства, ориентируются в горизонтальной плоскости, переносятся к месту установки и устанавливаются на печатную плату.




Преимущества перед известными аналогами

Уменьшение времени проведения работ в 2,5 раза, возможность работы с платами размерами до 300х400х3 мм

Стадия освоения

Внедрено в производство

Результаты испытаний

Соответствует технической характеристике изделия (устройства)

Технико-экономический эффект

Высокая производительность манипулятора - до 600 элементов в час

Возможность передачи за рубеж

Возможна передача за рубеж

Дата поступления материала

09.04.2003

Инновации и люди

У павильонов Уральской выставки «ИННОВАЦИИ 2010» (г. Екатеринбург, 2010 г.)

Мероприятия на выставке "Инновации и инвестиции - 2008" (Югра, 2008 г.)

Открытие выставки "Малый бизнес. Инновации. Инвестиции" (г. Магнитогорск, 2007 г.)

Демонстрация разработок на выставке "Малый бизнес. Инновации. Инвестиции" (г. Магнитогорск, 2007 г.)