Заявку на получение дополнительной информации по этому проекту можно заполнить здесь.
|
Номер 35-010-03 |
||||||
|
Наименование проекта Локомотив |
||||||
|
Назначение Для работы в условиях с высокой запыленностью воздуха и наличия в нем абразивных частиц |
||||||
|
Рекомендуемая область применения Железнодорожный транспорт |
||||||
|
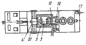
Описание Результат конструкторской разработки Локомотив содержит несущую раму 1 с кузовом 2 вагонного типа с устанавливаемыми внутри него дизелем 3 и прифланцованным к нему генератором 4, опирающимися через амортизаторы на одну общую раму 5, устанавливаемую на раму 1 локомотива. Дизель 3 соединен с охлаждающим устройством 6, выхлопной системой 7, а вокруг дизеля 3 расположен коллектор воздушной завесы 8 в виде короба. Для замедления скорости воздуха на выходе коллектора завесы 8 установлены сетки 9, а на входе - дозирующая решетка 10. Коллектор воздушной завесы 8 связан с вентилятором завесы 11 и фильтрами 12, через воздуховод 13 с регулировочной заслонкой 14, соединенный с фильтром второй ступени очистки воздуха 15. Над дизелем 3 расположен люк сброса 16. В верхней части кузова над фильтрами 12 установлен вентилятор наддува 17. В передней части кузова 2 над фильтрами 12 установлен вентилятор наддува 17. В передней части кузова 2 за фильтром 2-й ступени очистки воздуха 15 установлен стабилизатор давления 18. Для очистки воздуха на сгорание служат фильтры дизеля 19, а сетчатые кассеты 20 очистки воздуха генератора применяются для очистки воздуха, забираемого с помощью осевого вентилятора генератора 4.
Предложенная конструкция локомотива позволяет обеспечить его эффективную работу в условиях высокой запыленности воздуха, работоспособность его агрегатов, необходимое избыточное давление и микроклимат в передней части и силовом отделении кузова, отвечающий санитарным нормам, при этом в силовом отделении кузова удалось обеспечить теплоотвод от температурно-напряженных поверхностей дизеля с обеспечением избыточного давления путем отделения воздушной завесой обитаемого пространства от горячих частей дизеля, затратив при этом минимальную мощность на привод вентилятора завесы, который одновременно обеспечивает свежим воздухом переднюю часть кузова и еще меньшую мощность на вентилятор наддува, обеспечивающий приток свежего воздуха в кузов и поддержание более высокого уровня избыточного давления.
Рис. 1 Рис 2. |
||||||
|
Преимущества перед известными аналогами Надежность в работе за счет создания герметичности, имеет более высокий коэффициент полезного действия за счет использования малой мощности на вспомогательные нужды |
||||||
|
Стадия освоения Внедрено в производство |
||||||
|
Результаты испытаний Соответствует технической характеристике изделия (устройства) |
||||||
|
Технико-экономический эффект Коэффициент полезного действия локомотива увеличился на 8%. |
||||||
|
Возможность передачи за рубеж Возможна передача за рубеж |
||||||
|
Дата поступления материала 28.03.2003 |
У павильонов Уральской выставки «ИННОВАЦИИ 2010» (г. Екатеринбург, 2010 г.)
Мероприятия на выставке "Инновации и инвестиции - 2008" (Югра, 2008 г.)
Открытие выставки "Малый бизнес. Инновации. Инвестиции" (г. Магнитогорск, 2007 г.)
Демонстрация разработок на выставке "Малый бизнес. Инновации. Инвестиции" (г. Магнитогорск, 2007 г.)