ИННОВАЦИИ БИЗНЕСУ

ПОДРОБНАЯ ИНФОРМАЦИЯ

Заявку на получение дополнительной информации по этому проекту можно заполнить здесь.

Номер

25-030-03

Наименование проекта

Усовершенствованный светофор

Назначение

Повышение долговечности работы электроламп, используемых в светофоре

Рекомендуемая область применения

Автодорожное хозяйство

Описание

Результат выполнения конструкторской разработки.

Область применения - автодорожное хозяйство.

В стандартных конструкциях светофоров применяются для подсветки стандартные лампы накаливания, работающие в сети электрического тока с напряжением 220 В. Из-за большой частоты включений и выключений лампы накаливания работают в тяжелом режиме, а при повышении напряжения в электросети более 220 В они зачастую раньше ресурсного срока выходят из строя, что приводит к остановке работы светофора.

Предложена новая конструкция светофора, в котором долговечность работы ламп накаливания повышается в 3-5 раз.



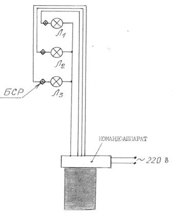
В усовершенствованном светофоре (см.рисунок) подключение осветительных ламп накаливания к командоаппарату (реле времени) производится посредством элементов БСР, которые в электрической цепи подключены к каждой лампе последовательно.



Стоимость одного элемента БСР в 3-4 раза превышает стоимость одной осветительной лампы.

При подаче электросигнала от командоаппарата на включение какой-либо лампы в светофоре эта лампа загорается не резко, а плавно и горит на 75-80% от своей номинальной мощности. При этом создается резерв мощности электролампы на случай повышенного броска тока или резкого повышения напряжения в электросети. При выключении накальная нить лампы также гаснет не мгновенно, а плавно. Это обстоятельство позволяет существенно повысить ресурс работы накальных ламп в усовершенствованном светофоре.

В связи с отсутствием в усовершенствованном светофоре дополнительных элементов электроники (диодов, триодов и пр.) ресурс работы его в целом не понижен, а долговечность применяемых в нем осветительных ламп повышается в 3-5 раз.

Преимущества перед известными аналогами

Существенно повышен ресурс работы накальных ламп в светофоре

Стадия освоения

Внедрено в производство

Результаты испытаний

Соответствует технической характеристике изделия (устройства)

Технико-экономический эффект

Годовой экономический эффект - 57 тыс.руб. Повышение долговечности работы электроламп в светофоре в 5 раз.

Возможность передачи за рубеж

Возможна передача за рубеж

Дата поступления материала

19.02.2003

Инновации и люди

У павильонов Уральской выставки «ИННОВАЦИИ 2010» (г. Екатеринбург, 2010 г.)

Мероприятия на выставке "Инновации и инвестиции - 2008" (Югра, 2008 г.)

Открытие выставки "Малый бизнес. Инновации. Инвестиции" (г. Магнитогорск, 2007 г.)

Демонстрация разработок на выставке "Малый бизнес. Инновации. Инвестиции" (г. Магнитогорск, 2007 г.)