ИННОВАЦИИ БИЗНЕСУ

ПОДРОБНАЯ ИНФОРМАЦИЯ

Заявку на получение дополнительной информации по этому проекту можно заполнить здесь.

Номер

15-055-03

Наименование проекта

Воздухораспределитель с разделительными ребрами

Назначение

Раздача воздуха в помещения различного назначения

Рекомендуемая область применения

Ветиляция

Описание

Результат конструкторской разработки.

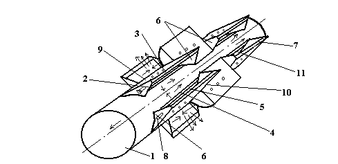
Воздухораспределитель содержит воздуховод 1 со щелевым выпуском 2 и прикрепленный к нему напротив выпуска 2 с зазором 3 продольный экран. Воздухораспределитель снабжен дополнительными щелевыми выпусками 4, равномерно расположенными по поверхности воздуховода 1 продольными экранами, прикрепленными к воздуховоду 1 напротив дополнительных выпусков 4 с образованием зазоров 5, разделительными поперечными ребрами 6, установленными в зазорах 3 и 5, причем каждый экран выполнен в виде полого короба 7 с отсасывающим штуцером 8 и рядом перфорированных отверстий 9 в его наружной стенке. Короба 7 выполнены составными из сообщающихся между собой частей 10, разделительные поперечные ребра 6 установлены с торцовых сторон каждой части 10 коробов с образованием ряда лотков 11, причем лотки 11 в каждом ряду прикреплены к воздуховоду 1 в чередующемся порядке с противоположных щелевых выпусков 2 и 4 и наклонены к ним, при этом лотки 11 установлены с образованием оппозитных пар, расположенных по всей поверхности воздуховода 1 в шахматном порядке.

Приточный воздух из воздуховода 1 направляется в щелевые выпуски 2 и 4, при выходе из которых встречает на своем пути лотки 11, отклоняется от своего первоначального направления и направляется в оппозитные зазоры 3 и 5, из которых с помощью разделительных поперечных ребер 6 истекает равномерными потоками навстречу друг другу. При столкновении выходящих потоков из оппозитных зазоров 3 и 5 происходит гашение их кинетической энергии, образуются высокотурбулизированные струи, которые при дальнейшем распространении быстрее гасят свою скорость при взаимодействии с окружающим воздухом. Такое использование экранов позволяет образовать струю, которая при взаимодействии с окружающим воздухом быстрее гасит свою скорость.

За счет создания разрежения в коробах 7 происходит в дальнейшем смыкание и взаимодействие соседних спутных струй, гашение скорости воздушного потока при взаимодействии и образуется пространственная быстрозатухающая струя.

Преимущества перед известными аналогами

Разделительные поперечные ребра установлены с торцовых сторон каждой части составного короба с обраованием лотков

Стадия освоения

Опробовано в условиях опытной эксплуатации

Результаты испытаний

Соответствует технической характеристике изделия (устройства)

Технико-экономический эффект

Степень затухания истекающего потока воздуха увеличена на 30%

Возможность передачи за рубеж

Возможна передача за рубеж

Дата поступления материала

30.01.2003

Инновации и люди

У павильонов Уральской выставки «ИННОВАЦИИ 2010» (г. Екатеринбург, 2010 г.)

Мероприятия на выставке "Инновации и инвестиции - 2008" (Югра, 2008 г.)

Открытие выставки "Малый бизнес. Инновации. Инвестиции" (г. Магнитогорск, 2007 г.)

Демонстрация разработок на выставке "Малый бизнес. Инновации. Инвестиции" (г. Магнитогорск, 2007 г.)