ИННОВАЦИИ БИЗНЕСУ

ПОДРОБНАЯ ИНФОРМАЦИЯ

Заявку на получение дополнительной информации по этому проекту можно заполнить здесь.

Номер

70-047-02

Наименование проекта

Автоматизированная оросительная система

Назначение

Для автоматизации полива сельскохозяйственных культур.

Рекомендуемая область применения

Предприятия сельского хозяйства, частные, кооперативные и фермерские хозяйства.

Описание

Результат выполнения технологической разработки

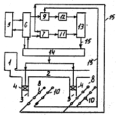
Состоит (см. рис.) из источника водоснабжения 1, подводящего 2 и оросительного 3 трубопроводов с запорными органами 4 на входе. Система включает датчики 8 электросопротивления стеблей растений и последовательно включенные блок 6 реле времени, блок 7 замера, блок 11 сравнения, блок 13 управления сигналами и блок 14 управления поливом, связанные кабелями 15 с запорными органами на оросительных трубопроводах и с блоком реле времени. Кроме того, система управления содержит дополнительную цепь управления. Последняя состоит из последовательно включенных датчиков влажности почвы 10 и дополнительных блоков замера 9 и сравнения 12. Датчики выполнены в виде набора датчиков электросопротивления стеблей растений и набора датчиков влажности почвы. Электрическое питание осуществляется от блока питания 5.

Автоматизированная оросительная система работает следующим образом. Из источника водоснабжения вода поступает в подводящий трубопровод. Через определенный интервал времени (например, ежесуточно в 10-11 часов утра) система проводит контроль электрического сопротивления растений и влажности почвы на орошаемом участке. Полученная информация поступает в блоки сравнения. По результатам сравнения срабатывают блоки управления сигналами и поливом. Если влажность почвы меньше нормы, а электрофизические характеристики растения не соответствуют поливу, то выдается минимальная доза полива. Если электрофизические характеристики растения соответствуют поливу, а влажность почвы соответствует норме, то выдается номинальная доза полива. В иных случаях полив не производится.




Преимущества перед известными аналогами

Автоматизация подачи воды и автоматическое регулирование продолжительности полива осуществляется на основе комплексной оценки состояния влажности почвы и реальной водообеспеченности растений, исключает влияние случайных возмущений.

Стадия освоения

Внедрено в производство

Результаты испытаний

Технология обеспечивает получение стабильных результатов

Технико-экономический эффект

На 12% повышается качество полива, на 18% повышается урожайность.

Возможность передачи за рубеж

Возможна передача за рубеж

Дата поступления материала

25.06.2002

Инновации и люди

У павильонов Уральской выставки «ИННОВАЦИИ 2010» (г. Екатеринбург, 2010 г.)

Мероприятия на выставке "Инновации и инвестиции - 2008" (Югра, 2008 г.)

Открытие выставки "Малый бизнес. Инновации. Инвестиции" (г. Магнитогорск, 2007 г.)

Демонстрация разработок на выставке "Малый бизнес. Инновации. Инвестиции" (г. Магнитогорск, 2007 г.)