Заявку на получение дополнительной информации по этому проекту можно заполнить здесь.
|
Номер 51-114-02 |
||||||
|
Наименование проекта Грейфер |
||||||
|
Назначение Повышение эффективности разработки и производительности грейфера. |
||||||
|
Рекомендуемая область применения Землеройная техника. |
||||||
|
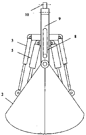
Описание Результат выполнения конструкторской разработки. Наиболее близким по технической сущности и достигаемому результату к предлагаемой разработке является грейфер, снабженный дополнительными челюстями, размещенными внутри полости основных и связанных с приводом дополнительными тягами с пальцами, при этом тяги основных челюстей выполнены регулируемой длины, а привод имеет пазы для перемещения по ним пальцев дополнительных тяг (а.с. СССР № 1089198, кл. Е 02 f3/44, 1984 г), принято за прототип. Недостатком известного грейфера является высокая металлоемкость и недостаточная эффективность вследствие того, что внутренние челюсти остаются после набора грунта внутри основных челюстей, смыкание которых сопряжено с сжатием грунта в пространстве между основными и дополнительными челюстями. Кроме этого, дополнительные челюсти уменьшают общую вместимость грейфера. Цель работы - повышение эффективности разработки и производительности грейфера. Поставленная цель достигается тем, что дополнительные челюсти снабжены дополнительным приводом, а рама выполнена с возможностью перемещения и выхода дополнительных челюстей из полости основных челюстей. Существенное отличие предлагаемого технического решения заключается в том, что в новой совокупности признаков, когда дополнительные челюсти снабжены дополнительным приводом вертикального перемещения, а рама выполнена с возможностью вертикального перемещения и выхода дополнительных челюстей из полости основных, возникает новый технический эффект - возможность обрушения грунта основными челюстями в выемку внутренних челюстей после их набора и вертикального перемещения вверх. Эффект обрушения грунта в выемку внутренних челюстей позволяет с меньшими усилиями разрабатывать грунт и заполнять полость основных челюстей, что соответственно повысит эффективность разработки грунта. Возможность вертикального перемещения вверх внутренних челюстей после их набора позволяет увеличить вместимость и соответственно производительность грейфера. Таким образом, совокупность существенных признаков является необходимой и достаточной для достижения технического результата - повышения эффективности разработки грунта и производительности грейфера, и указанные положительные эффекты достигаются как следствие возникающих новых технических свойств в этой совокупности признаков. Грейфер содержит раму 1 (рис. 1, 2) П-образной формы, основные челюсти 2, шарнирно связанные между собой и рамой и управляемые гидроцилиндрами 3. Внутри основных челюстей размещены дополнительные челюсти 4, управляемые гидроцилиндрами раскрытия 5 и вертикального перемещения 6. Корпус гидроцилиндра жестко связан с поперечиной 7, являющейся осью вращения внутренних челюстей. Поперечина 7 несет направляющие пальцы 8, перемещающиеся в вертикальных пазах 9 и исключающие смещение и поворот дополнительных челюстей. Шток гидроцилиндра 6 шарнирно связан с верхней частью П-образной рамы 1. Грейфер работает следующим образом. Посредством проушины 10 грейфер навешивается на стрелу базовой машины. С раскрытыми основными и дополнительными челюстями в нижнем положении грейфер устанавливается на поверхность грунта. Дополнительными челюстями захватывается грунт посредством цилиндров 5. С помощью цилиндра 6 дополнительные челюсти с грунтом поднимаются вверх и выходят из полости основных челюстей. Далее смыкаются с помощью цилиндров 3 основные челюсти, и грейфер базовой машиной транспортируется для его разгрузки, которая осуществляется раскрытием основных, а затем дополнительных челюстей.
Рис. 1
Рис. 2 |
||||||
|
Преимущества перед известными аналогами Значительное увеличение вместимости грейфера. |
||||||
|
Стадия освоения Внедрено в производство |
||||||
|
Результаты испытаний Технология обеспечивает получение стабильных результатов |
||||||
|
Технико-экономический эффект Повышение производительности грейфера на 40%. |
||||||
|
Возможность передачи за рубеж Возможна передача за рубеж |
||||||
|
Дата поступления материала 18.06.2002 |
У павильонов Уральской выставки «ИННОВАЦИИ 2010» (г. Екатеринбург, 2010 г.)
Мероприятия на выставке "Инновации и инвестиции - 2008" (Югра, 2008 г.)
Открытие выставки "Малый бизнес. Инновации. Инвестиции" (г. Магнитогорск, 2007 г.)
Демонстрация разработок на выставке "Малый бизнес. Инновации. Инвестиции" (г. Магнитогорск, 2007 г.)