ИННОВАЦИИ БИЗНЕСУ

ПОДРОБНАЯ ИНФОРМАЦИЯ

Заявку на получение дополнительной информации по этому проекту можно заполнить здесь.

Номер

47-093-02

Наименование проекта

Приспособление для снятия наружных колец подшипников кожуха заднего моста автомобиля ГАЗ-24

Назначение

Снятие наружных колец подшипников кожуха заднего моста

Рекомендуемая область применения

Ремонт заднего моста автомобиля

Описание

Результат выполнения конструкторской разработки.

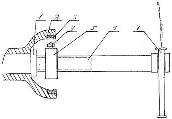
Состоит из резьбового штока 6 (см. рисунок) с упором 1, гайки 5 с тремя стопорными винтами 4, воротка 7. Снятие гильзы подшипника производится следующим образом: съемник упором прижимают к кожуху заднего моста 2, затем под наружное кольцо подшипника 3 подводят гайку так, чтобы стопорные винты находились под пазами наружного кольца. Стопорные винты вывертывают до соприкосновения с наружным кольцом. Затем воротком производят вращение штока по часовой стрелке, при этом наружное кольцо подшипника с гайкой сходит с посадочного места кожуха заднего моста.

Приспособление позволяет быстро и без повреждений снимать наружные кольца подшипников.

Преимущества перед известными аналогами

Быстро и без повреждений снимать наружные кольца подшипников заднего моста автомобиля

Стадия освоения

Внедрено в производство

Результаты испытаний

Технология обеспечивает получение стабильных результатов

Технико-экономический эффект

Повышение производительности труда в 2 раза

Возможность передачи за рубеж

Возможна передача за рубеж

Дата поступления материала

30.08.2002

Инновации и люди

У павильонов Уральской выставки «ИННОВАЦИИ 2010» (г. Екатеринбург, 2010 г.)

Мероприятия на выставке "Инновации и инвестиции - 2008" (Югра, 2008 г.)

Открытие выставки "Малый бизнес. Инновации. Инвестиции" (г. Магнитогорск, 2007 г.)

Демонстрация разработок на выставке "Малый бизнес. Инновации. Инвестиции" (г. Магнитогорск, 2007 г.)