ИННОВАЦИИ БИЗНЕСУ

ПОДРОБНАЯ ИНФОРМАЦИЯ

Заявку на получение дополнительной информации по этому проекту можно заполнить здесь.

Номер

61-032-02

Наименование проекта

Устройство для коррекции дыхания у больных с диффузным поражением легких

Назначение

Для контроля и коррекции функции внешнего дыхания больных с диффузным поражением легких путем предъявления дозированных по времени и интенсивности дополнительных сопротивлений дыханию

Рекомендуемая область применения

Медицинское оборудование

Описание

Описание к ИЛ №61-032-02

Результат выполнения конструкторской разработки.

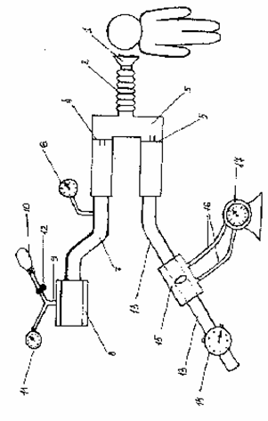
Устройство состоит из дыхательной трубки с загубником 1 (см.схему), которая с помощью пневмомагистрали 2 соединяется с клапанной развязкой 3 в канале вдоха, имеющей два пневматических запорных устройства:впускной клапан 4 и выпускной клапан 5, разделяющие дыхательные потоки пациента, возникающие во время вдоха и выдоха. Величина внутриротового давления измеряется манометром 6. Канал вдоха 7 связан с пневматическим затвором 8, позволяющим плавно перекрывать сечение потока и дозировать резистивные дыхательные нагрузки.

Управление пневматическим затвором осуществляется с помощью пневмопривода 9, содержащего механический нагнетатель 10, осуществляющий компрессию магистрали. Величина компрессии измеряется мембранным манометром 11. При достижении заданного значения сопротивления воздух под избыточным давлением удерживается краном 12.

Канал выдоха 13 подключен к корпусу сухого волюменспирометра анемометрического типа 14, обладающего малым сопротивлением воздушному потоку. В канале выдоха имеется пневмотахометрический датчик (трубка Флейша) 15, который с помощью пневматических трубок 16 соединен с пневмотахометром 17. Все части устройства легко отсоединяются и обрабатываются дезинфицирующими растворами.

Устройство для коррекции дыхания работает следующим образом.

Пациенту с помощью зажима перекрывают носовые ходы и предлагают дышать ртом через загубник. Измеряют внутриротовое давление и, исходя из его величины, рассчитывают резистивную дыхательную нагрузку. Во время выполнения тренировок на различных величинах сопротивления дыханию измеряют потоковые характеристики внешнего дыхания.

Устройство позволяет:

проводить измерение аэродинамического сопротивления воздухоносных путей испытуемых;

осуществлять измерение порогов чувствительности к обструктивным нагрузкам;

предъявлять резистивные нагрузки в диапазоне от 0 до 90 см воды ст./л;

регистрировать потоковые характеристики внешнего дыхания испытуемых;

проводить тренировку системы внешнего дыхания (дыхательных мышц, грудной клетки, легких, дыхательных путей);


формировать экономный и наиболее оптимальный дыхательный режим у больных с диффузным поражением легких.

Преимущества перед известными аналогами

Измерение аэродинамического сопротивления воздухоносных путей испытуемых

Стадия освоения

Внедрено в производство

Результаты испытаний

Технология обеспечивает получение стабильных результатов

Технико-экономический эффект

Улучшение качества изделия в 1,2 раза

Возможность передачи за рубеж

Возможна передача за рубеж

Дата поступления материала

14.12.2001

Инновации и люди

У павильонов Уральской выставки «ИННОВАЦИИ 2010» (г. Екатеринбург, 2010 г.)

Мероприятия на выставке "Инновации и инвестиции - 2008" (Югра, 2008 г.)

Открытие выставки "Малый бизнес. Инновации. Инвестиции" (г. Магнитогорск, 2007 г.)

Демонстрация разработок на выставке "Малый бизнес. Инновации. Инвестиции" (г. Магнитогорск, 2007 г.)