ИННОВАЦИИ БИЗНЕСУ

ПОДРОБНАЯ ИНФОРМАЦИЯ

Заявку на получение дополнительной информации по этому проекту можно заполнить здесь.

Номер

61-029-02

Наименование проекта

Линия подготовки поверхности А113

Назначение

Для зачистки от заусенцев заготовок печатных плат после сверления перед дальнейшими операциями подготовки отверстий под металлизацию, а также для подготовки поверхностей печатных плат перед нанесением трафаретных красок

Рекомендуемая область применения

Производство печатных плат

Описание

Результат выполнения конструкторской разработки.

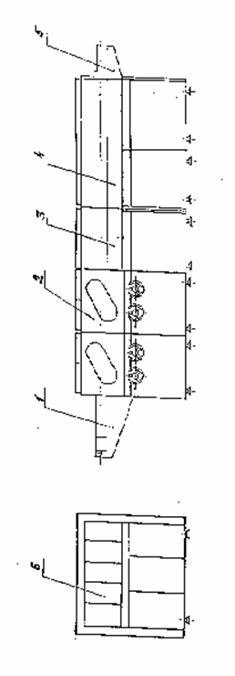
Линия состоит из следующих основных составных частей:приставки загрузки1,(см.рисунок) модуля зачистки 2, модуля промывки 3, модуля сушки 4, приставки разгрузки 5, устройства фильтрации, пульта управления 6.

Технологические операции, выполняемые на линии при обработке заготовок печатных плат:

загрузка,

механическая зачистка,

промывка,

сушка,

разгрузка.

Приставка загрузки предназначена для приема, транспортирования и подачи заготовок печатных плат в модуль зачистки. Конвейер приставки загрузки представляет собой набор валиков с нанизанными на них транспортирующими роликами. На корпусе конвейера укреплен пульт оператора, на панели которого расположены грибовидная кнопка"Стоп"и зеленая лампа"Работа".

Модуль зачистки предназначен для механической зачистки заусенцев, поверхностей и предварительной промывки заготовок печатных плат. Основными рабочими органами модуля являются зачистные круги (4 шт). Круги воздействуют на платы при их движении по конвейеру, в результате чего снимаются заусенцы и часть металла вместе с окислами.

Конвейер состоит из четырнадцати пар обрезиненных валов, нижние из которых являются приводными, а верхние валы - прижимными. Прижимные валы вращаются в цапфах. Цапфы установлены в прижимах и подпружинены. Зачистные круги расположены попарно по ходу движения конвейера. В двух парах соответственно имеются нижние и верхние зачистные круги по отношению к конвейеру модуля. В первой паре направление вращения зачистных кругов совпадает с направлением движения конвейера, то есть обработка заготовок печатных плат - попутная. Во второй паре направление вращения зачистных кругов противоположно направлению движения конвейера, то есть обработка плат встречная.

Модуль имеет механизмы подъема, которые служат для регулирования усилия прижима зачистных кругов к обрабатываемым заготовкам. В зоне предварительной промывки с помощью коллекторов с форсунками происходит предварительная промывка заготовок печатных плат после их обработки зачистными кругами.

Модуль промывки предназначен для струйной обработки заготовок печатных плат водой. Коллекторы на входе модуля служат для предварительной промывки. Два коллектора, расположенные с низу конвейера, предназначены для промывки поверхностей отверстий заготовок печатных плат. Коллектор на выходе модуля служит для окончательной промывки печатных плат.

Модуль сушки предназначен для сушки заготовок печатных плат струями холодного и горячего воздуха. Процесс сушки заготовок печатных плат происходит при непрерывном перемещении их по конвейеру с отсосом воды из отверстий и последующим обдувом снизу и сверху холодным и горячим воздухом. Воздух из помещения цеха поступает в вентилятор. От вентилятора воздушный поток разделяется заслонкой на два потока. Воздух одного потока нагревается блоком нагревателей и поступает в две пары сопел. Заданная температура поддерживается автоматически. Максимальная температура +75 град.Цельсия. Сопла имеют возможность регулировки ширины щели за счет смещения подвижной пластины. Регулирование зазоров между соплами и полотном конвейера производится в зависимости от толщины обрабатываемых заготовок печатных плат.

Приставка разгрузки предназначена для разгрузки заготовок печатных плат.

Устройство фильтрации осуществляет подачу в модуль зачистки и в модуль промывки воды, очищенной от металлических и неметаллических частиц, образующихся в процессе обработки заготовок печатных плат. Устройство фильтрации выполняет функцию сервисного оборудования, применение которого уменьшает расход воды в линии.

Устройство фильтрации состоит из блока грубой очистки и блока тонкой очистки.

Пульт управления выполнен в напольном исполнении с регулируемыми по высоте опорами. Пульт имеет двери, каждая из которых запирается с помощью ключей на два замка. Каждый модуль линии в свою очередь имеет в пульте свои панели индикации, управления, коммутации, расположенные в один вертикальный ряд. Последовательность расположения комплектов панелей каждого модуля соответствует расположению модулей в линии.

Обшивка, кожухи, крышки, двери служат для соблюдения мер безопасности и для придания архитектурных форм, соответствующих функциональному назначению составных частей и модулей линии.



Преимущества перед известными аналогами

Высококачественная подготовка поверхности перед выполнением последующих операций

Стадия освоения

Внедрено в производство

Результаты испытаний

Соответствует технической характеристике изделия (устройства)

Технико-экономический эффект

Улучшение качества изделия в 1,2 раза

Возможность передачи за рубеж

Возможна передача за рубеж

Дата поступления материала

20.12.2001

Инновации и люди

У павильонов Уральской выставки «ИННОВАЦИИ 2010» (г. Екатеринбург, 2010 г.)

Мероприятия на выставке "Инновации и инвестиции - 2008" (Югра, 2008 г.)

Открытие выставки "Малый бизнес. Инновации. Инвестиции" (г. Магнитогорск, 2007 г.)

Демонстрация разработок на выставке "Малый бизнес. Инновации. Инвестиции" (г. Магнитогорск, 2007 г.)