ИННОВАЦИИ БИЗНЕСУ

ПОДРОБНАЯ ИНФОРМАЦИЯ

Заявку на получение дополнительной информации по этому проекту можно заполнить здесь.

Номер

61-028-02

Наименование проекта

Смеситель

Назначение

Для смешивания жидких нефтепродуктов различной вязкости при одновременном обезвоживании

Рекомендуемая область применения

Приготовление рабоче-консервационных масел

Описание

028-02

Результат выполнения конструкторской разработки.

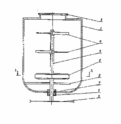
Смеситель содержит неподвижный цилиндрический корпус 1 (см.рисунок) крышкой 2. В стенку корпуса вмонтированы трубчатые масляные электронагреватели 6. Смеситель дополнительно снабжен крыльчаткой 5, которая установлена на валу 3 в нижней части, причем ее лопасти выполнены с наклоном под углом 45 град. Лопасти 4 для перемешивания смеси, также установленные на валу, обращены попеременно гранями и ребрами к плоскости их вращения. Вал установлен на подшипниках 7, отверстие в днище уплотняется самоподвижным сальником 8.

Смеситель работает следующим образом.

Масло и присадку для приготовления рабоче-консервационного масла заливают в корпус через крышку, одновременно происходит нагрев смеси. Вал получает вращение от привода через шкив 9. Вал вместе с закрепленными на нем лопастями и крыльчаткой начинает вращаться, при этом крыльчатка взбалтывает смесь в нижней части корпуса и создает направленный поток смеси на лопасти. Ребра лопастей при их вращении разделяют поток смеси на части, а грани дополнительно перемещают и перетирают его.

Нагрев смеси до 120 град. осуществляется электронагревателями, при этом образуются пары влаги, которые выходят через регулируемое отверстие в крышке.

Смеситель позволяет значительно интенсифицировать процесс перемешивания рабоче-консервационной смеси.



Преимущества перед известными аналогами

Повышение интенсивности процесса

Стадия освоения

Внедрено в производство

Результаты испытаний

Соответствует технической характеристике изделия (устройства)

Технико-экономический эффект

Улучшение качества изделия в 2 раза

Возможность передачи за рубеж

Возможна передача за рубеж

Дата поступления материала

27.08.2001

Инновации и люди

У павильонов Уральской выставки «ИННОВАЦИИ 2010» (г. Екатеринбург, 2010 г.)

Мероприятия на выставке "Инновации и инвестиции - 2008" (Югра, 2008 г.)

Открытие выставки "Малый бизнес. Инновации. Инвестиции" (г. Магнитогорск, 2007 г.)

Демонстрация разработок на выставке "Малый бизнес. Инновации. Инвестиции" (г. Магнитогорск, 2007 г.)