ИННОВАЦИИ БИЗНЕСУ

ПОДРОБНАЯ ИНФОРМАЦИЯ

Заявку на получение дополнительной информации по этому проекту можно заполнить здесь.

Номер

61-027-02

Наименование проекта

Газогенераторная установка

Назначение

Для двигателя внутреннего сгорания с наддувом и подачей в газогенератор сжатого воздуха или носителя топлива

Рекомендуемая область применения

Техническое обслуживание автомобилей

Описание

02

Результат выполнения конструкторской разработки.

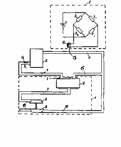
Двигатель 1 (см.рисунок) внутреннего сгорания содержит блок 2 цилиндров, снабженный впускным ресивером 3 для питания двигателя воздухом-окислителем и горючим газом. Впускной ресивер может быть цельным или разделенным на два коллектора:один для распределения воздуха, второй для распределения газа по цилиндрам. Продукты сгорания из двигателя отводятся через выпускной трубопровод 7 в турбину 8, работающую на выхлопных газах, с ней связан компрессор 9, который всасывает воздух через трубопровод 16 и подает сжатый воздух по трубопроводу 10 в двигатель и газогенератор 6. Выход газогенератора непосредственно подключен к впускному ресиверу блока цилиндров с помощью питающего газопровода.

Блок управления 5 содержит соленоид 12, регулирующий положение заслонки 13, мост Уитстона равновесного типа, выполненный из сопротивлений, одно из которых размещено в отводящем патрубке газогенератора 4, а другие - снаружи газогенератора.

Установка работает следующим образом.

Наружный воздух всасывается в компрессор наддува через всасывающий трубопровод 16, сжимается и нагнетается в отводящий трубопровод. 10 Затем поток воздуха делится, часть поступает по продолжению трубопровода 15 для наддува двигателя внутреннего сгорания, а часть через ответвление отводится на наддув газогенератора.

Горючий газ из газогенератора подается во впускной ресивер блока цилиндров через питающий газопровод. При работе двигателя на режиме малых нагрузок температура пламени небольшая, следовательно, и нагрев сопротивления 14 будет незначительный, ток, протекающий через катушку соленоида, будет невелик, втягивающая сила сердечника будет недостаточной для преодоления усилия пружины и заслонка полностью перекрывает сечение трубопровода 11.

При увеличении нагрузки температура горючего газа повышается, что приводит к нарушению баланса моста Уитстона, увеличению тока, проходящего через соленоид, и, как следствие, открытию заслонки. Турбокомпрессор вступает в работу и подает большее количество воздуха в газогенератор.

При переобеднении смеси температура горючих газов, выходящих из газогенератора, будет снижаться, что приведет к перекрытию канала заслонкой и уменьшению количества подаваемого в газогенератор воздуха.

Таким образом, применение блока управления позволяет обеспечить на каждом режиме работы двигателя его максимальную мощность, в результате чего повышается коэффициент полезного действия газогенераторной установки.



Преимущества перед известными аналогами

Обеспечение максимальной мощности ДВС

Стадия освоения

Внедрено в производство

Результаты испытаний

Соответствует технической характеристике изделия (устройства)

Технико-экономический эффект

Улучшение качества изделия в 2 раза

Возможность передачи за рубеж

Возможна передача за рубеж

Дата поступления материала

28.08.2001

Инновации и люди

У павильонов Уральской выставки «ИННОВАЦИИ 2010» (г. Екатеринбург, 2010 г.)

Мероприятия на выставке "Инновации и инвестиции - 2008" (Югра, 2008 г.)

Открытие выставки "Малый бизнес. Инновации. Инвестиции" (г. Магнитогорск, 2007 г.)

Демонстрация разработок на выставке "Малый бизнес. Инновации. Инвестиции" (г. Магнитогорск, 2007 г.)