ИННОВАЦИИ БИЗНЕСУ

ПОДРОБНАЯ ИНФОРМАЦИЯ

Заявку на получение дополнительной информации по этому проекту можно заполнить здесь.

Номер

61-024-02

Наименование проекта

Установка для восстановления шеек коленчатых валов

Назначение

Для нанесения покрытия на изношенные поверхности деталей машин

Рекомендуемая область применения

Автомобильный транспорт

Описание

024-02

Результат выполнения конструкторской разработки.

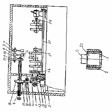
Установка состоит из корпуса 1 (см.рисунок), в верхней части которого смонтировано копировальное устройство, а в нижней - станина 2 с механизмом привода вращения шпинделя и пинолью.

Копировальное устройство выполнено в виде шлицевого вала 3, на конце которого закреплен кривошип 4 с подвижным шипом 5. На подвижном шипе жестко закреплен держатель пистолета 6 и гиростабилизатор 7.

Держатель пистолета состоит из цилиндра 8 с внутренней резьбой и втулки 9 с наружной резьбой.

Механизм привода вращения шпинделя содержит электродвигатель 10 и ременную передачу 11.

Привод копировального устройства осуществляется от шпинделя 12 установки посредством зубчатой цилиндрической передачи с передаточным числомu=1.

Зубчатая цилиндрическая передача состоит из ведущей шестерни 13, закрепленной на шпинделе 12, промежуточной шестерни 14, закрепленной на оси 15, жестко связанной с корпусом, и ведомой шестерни 16, установленной на шлицевом валу с возможностью осевого перемещения с помощью рычага 17.

Установка работает следующим образом.

В планшайбу 18 крепится коленчатый вал 19 (например, двигателя автомобиля ЗИЛ-130) и фиксируется центром пиноли 20. При восстановлении коренных шеек коленчатого вала ведомая шестерня с помощью рычага выводится из зацепления с промежуточной шестерней, а кривошип с держателем пистолета и гиростабилизатором устанавливается в нижнюю мертвую точку так, чтобы держатель пистолета был напротив восстанавливаемой шейки. Втулкой устанавливается требуемая дистанция нанесения покрытия и в держатель крепится пистолет 21. После этого включают привод вращения шпинделя и пистолет для нанесения покрытия. Поскольку крутящий момент от шпинделя не передается на шлицевой вал, держатель пистолета и гиростабилизатор находятся в неподвижном состоянии, обеспечивая тем самым постоянную дистанцию нанесения покрытия на вращающуюся коренную шейку.

После нанесения покрытия необходимой толщины на первую коренную шейку отключают пистолет, привод шпинделя. Путем осевого перемещения шлицевого вала относительно корпуса держатель пистолета устанавливают над следующей коренной шейкой.

При нанесении покрытия на шатунную шейку ее устанавливают в нижнюю мертвую точку проворачиванием коленчатого вала вручную.

Положение восстанавливаемой шатунной шейки в нижней мертвой точке контролируется с помощью контрольной планки 22. Держатель пистолета с гиростабилизатором устанавливают в нижнюю мертвую точку, и в этом положении ведомая шестерня с помощью рычага вводится в зацепление с промежуточной шестерней. Втулкой устанавливают необходимую дистанцию нанесения покрытия, после чего, предварительно ослабив гайку 24, устанавливают радиус кривошипа копировального устройства, равный радиусу кривошипа коленчатого вала. После этого включают привод вращения шпинделя установки. При этом крутящий момент со шпинделя передается на шлицевой вал копировального устройства посредством зубчтой передачи. Поскольку передаточное число зубчатой цилиндрической передачи равно 1, а радиус кривошипа копировального устройства равен радиусу кривошипа коленчатого вала, пистолет копирует вращательное движение восстанавливаемой шатунной шейки вокруг оси вращения шпинделя. Это обеспечивает нанесение равномерного слоя покрытия на восстанавливаемые шатунные шейки.

Применение установки позволяет восстанавливать коренные и шатунные шейки коленчатых валов двигателей внутреннего сгорания без их установки в центросместители газопламенным и плазменным напылением.




Преимущества перед известными аналогами

Расширение технологических возможностей установки

Стадия освоения

Внедрено в производство

Результаты испытаний

Соответствует технической характеристике изделия (устройства)

Технико-экономический эффект

Улучшение качества изделия в 2 раза

Возможность передачи за рубеж

Возможна передача за рубеж

Дата поступления материала

27.08.2001

Инновации и люди

У павильонов Уральской выставки «ИННОВАЦИИ 2010» (г. Екатеринбург, 2010 г.)

Мероприятия на выставке "Инновации и инвестиции - 2008" (Югра, 2008 г.)

Открытие выставки "Малый бизнес. Инновации. Инвестиции" (г. Магнитогорск, 2007 г.)

Демонстрация разработок на выставке "Малый бизнес. Инновации. Инвестиции" (г. Магнитогорск, 2007 г.)