ИННОВАЦИИ БИЗНЕСУ

ПОДРОБНАЯ ИНФОРМАЦИЯ

Заявку на получение дополнительной информации по этому проекту можно заполнить здесь.

Номер

61-022-02

Наименование проекта

Устройство для изготовления гибких воздуховодов

Назначение

Для изготовления гибких воздуховодов с винтовым гофром и замком из металлической ленты

Рекомендуемая область применения

Обработка металлов давлением

Описание

Результат выполнения конструкторской разработки.

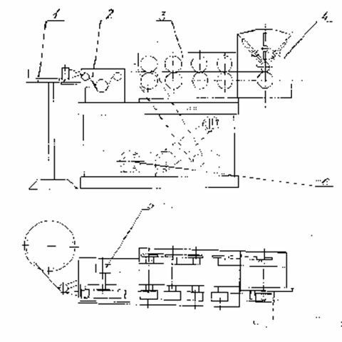
Устройство для изготовления гибких воздуховодов содержит бухтодержатель 1 (см.схему), механизм правки и смазки 2, механизм формовки ленты 3, механизм навивки воздуховода 4, механизм счета 5, электрический и ручной привод 6.

Все механизмы установлены на общей станине (бухтодержатель может быть установлен отдельно), содержащей электрический и ручной привод, причем механизм формовки ленты и механизм навивки воздуховода согласованы по скорости.

Узел правки и смазки устанавливается в зависимости от характеристик исходного материала - металлической ленты и содержит емкость для смазывающей жидкости.

Механизм формовки ленты содержит две пары формующих роликов и пару роликов, которые формируют замковую часть навиваемого профиля.

Механизм навивки воздуховода имеет в своем составе пару навивочных роликов, вспомогательные ролики и упор-линейку с флажком.

Процесс формовки и навивки может быть раздельным, для этого после механизма формовки ленты можно установить наматывающий бухтодержатель, а перед механизмом навивки - подающий бухтодержатель, тогда процесс формовки и навивки происходит в два этапа и совмещение по скорости этих двух механизмов не является обязательным.

Кроме этого, на станине может быть установлен механизм счета длины наматываемого воздуховода, привод которого осуществляется от движения ленты через механизм правки и смазки ленты.

Для обеспечения герметичности и прочности воздуховода в месте соединения замковая часть навиваемого профиля выполнена с двойной закладкой материала по центру и пятикратной закладкой материала по краям замковой части.

Электрооборудование устройства для изготовления гибких воздуховодов состоит из расположенных на станине электродвигателя, кнопочной станции, конечного выключателя и электрошкафа с пускорегулирующей аппаратурой. Вращение на формовочные ролики механизма формовки ленты передается от электродвигателя через ременную передачу, двухступенчатый редуктор, цепную и зубчатые передачи. Параллельно вращение может передаваться вручную через маховик, кулачковую муфту и ременную передачу на редуктор. Ролики механизма навивки воздуховода получают вращение от последнего вала, на котором расположена последняя пара роликов, калибрующих гофры и формующих замковую часть навиваемого профиля.

Кнопочная станция оборудована кнопками"Пуск"и"Стоп".

Ручной привод служит для заправки ленты под формовочные и навивочные ролики при первоначальном запуске оборудования. Упор-линейка с флажком отсчета предназначена для настройки навиваемого воздуховода на заданный диаметр.

Для сопряжения роликов по межцентровому расстоянию и для создания необходимого усилия формовки и закатки замка гофрированного профиля имеются рукоятки зажима формовочных и навивочных роликов между собой.

Для установки заданной длины навиваемого воздуховода в зависимости от диаметра воздуховода предусмотрен механизм счета, который может быть выполнен как программный счетчик с рукоятками набора и сброса показания.

Для отключения электропривода при достижении воздуховодом заданной длины предназначен конечный выключатель.

Устройство для изготовления гибких воздуховодов работает следующим образом.

Бухту, например, алюминиевой ленты укладывают на планшайбу бухтодержателя с вертикальной или горизонтальной осью вращения. Далее лента пропускается в механизме правки и смазки через отклоняющий и правильные ролики под направляющую фильеру, подформовочно-направляющий ролик. Для смазки ленты применяется охлаждающая жидкость (керосин с добавлением незернистого графита или заменитель сурепного масла, минеральные жиры или машинное масло). Затем лента протягивается с помощью ручного привода через формовочные ролики механизма формовки ленты. Первые пары роликов формуют гофрированный профиль, последняя пара калибрует гофры и формирует замковую часть навиваемого профиля.

Количество пар формовочных роликов зависит от заданного количества гофр на ленте. Отформованная лента через направляющую фильеру поступает под ролики механизма навивки воздуховода, где с помощью отклоняющего упора - линейки и вспомогательных роликов лента завивается в спираль. Диаметр спирали зависит от расстояния между роликами и упора - линейки с флажком. Проходя между роликами механизма навивки воздуховода, правая и левая замковые части ленты соединяются между собой на первом витке. На втором и третьем витке замок соответственно подгибается и окончательно закатывается в трубу-воздуховод. По достижении заданной длины готовый воздуховод отрезается и процесс продолжается, пока не закончится бухта. С переходом на новую бухту весь процесс повторяется.


При наличии дополнительного бухтодержателя отформованная лента укладывается в бухту. После окончания процесса формовки из бухты отформованная лента через направляющую фильеру поступает под ролики механизма навивки воздуховода. Далее процесс изготовления происходит по вышеуказанному порядку.

Преимущества перед известными аналогами

Замковая часть навиваемого профиля выполнена с двойной закладкой материала по центру замковой части и пятикратной закладкой материала по краям замковой части

Стадия освоения

Внедрено в производство

Результаты испытаний

Соответствует технической характеристике изделия (устройства)

Технико-экономический эффект

Улучешение качества изделия в 1,5 раза

Возможность передачи за рубеж

Возможна передача за рубеж

Дата поступления материала

08.11.2001

Инновации и люди

У павильонов Уральской выставки «ИННОВАЦИИ 2010» (г. Екатеринбург, 2010 г.)

Мероприятия на выставке "Инновации и инвестиции - 2008" (Югра, 2008 г.)

Открытие выставки "Малый бизнес. Инновации. Инвестиции" (г. Магнитогорск, 2007 г.)

Демонстрация разработок на выставке "Малый бизнес. Инновации. Инвестиции" (г. Магнитогорск, 2007 г.)