ИННОВАЦИИ БИЗНЕСУ

ПОДРОБНАЯ ИНФОРМАЦИЯ

Заявку на получение дополнительной информации по этому проекту можно заполнить здесь.

Номер

61-020-02

Наименование проекта

Форсунка для впрыскивания топлива методом соударения струй топлива и воздуха

Назначение

Для повышения эффективности рабочего процесса двигателя внутреннего сгорания при впрыскивании топлива в камеру сгорания методом соударяющихся струй топлива и воздуха

Рекомендуемая область применения

Двигатели внутреннего сгорания с воспламенением от сжатия

Описание

020-02

Результат выполнения конструкторской разработки.

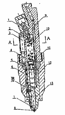
Форсунка для впрыскивания топлива методом соударения струй топлива и воздуха состоит из регулировочного винта1 (см.рисунок), пробки 2, штуцера подвода воздуха 18, воздушных 3 и топливного 9 каналов, расположенных в корпусе форсунки 4, проставки 5, имеющей в верхней части углубление для соединения воздушных каналов, гайки распылителя 6, корпуса распылителя 12 с воздушными сопловыми отверстиями 7 и топливными сопловыми отверстиями 8 в носике распылителя, при этом оси каждой пары отверстий пересекаются на некотором расстоянии от корпуса распылителя.

В корпусе распылителя находится запорная игла форсунки 13, удерживаемая в нижнем положении пружиной 10 через толкатель 11, а также золотник, состоящий из корпуса 16, имеющего впускное и выпускное окна, пружины золотника 14, самого золотника 15 и фиксирующей гайки 17.

Устройство работает следующим образом.

К форсунке двигателя внутреннего сгорания подводится воздух под высоким давлением, который через штуцер 18 поступает в воздушные каналы. В начале процесса топливоподачи движение плунжера топливного насоса создает давление в кармане распылителя. Нарастание давления в топливной магистрали приводит к перемещению золотника, открытию окон в корпусе золотника и истечению воздуха по сопловому отверстию. Так как давление открытия запорной иглы форсунки превышает давление открытия золотника (на 5-7%), то увеличивающееся давление приводит к подъему иглы форсунки и топливо поступает в сопловые отверстия. Стационарность параметров воздушной струи и значительные изменения скорости истечения топливной струи в период впрыскивания приводит при соударении двух струй - воздушной и топливной к изменению формы топливного факела, а именно"раскрытию"и"схлопыванию"полого конуса факела на протяжении всего периода впрыскивания.

При посадке запорной иглы форсунки в седло золотник выполняет демпфирование возникающих волн давления в системе, так как значение давления, при котором происходит его закрытие, меньше давления посадки запорной иглы форсунки, а поступающий в камеру сгорания в этот момент воздух не оказывает негативного влияния на рабочий процесс. Кроме того, вытесняемый золотником объем топлива служит для поддержания остаточного давления топлива в системе.


Применение данной конструкции форсунки позволяет эффективно использовать преимущества впрыскивания топлива методом соударяющихся струй на протяжении всего периода впрыскивания и на всех режимах работы двигателя, повышает экономичность двигателей и улучшает их энергетические показатели.

Преимущества перед известными аналогами

Улучшение энергетических показателей

Стадия освоения

Внедрено в производство

Результаты испытаний

Соответствует технической характеристике изделия (устройства)

Технико-экономический эффект

Улучшение качества изделия в 1,3 раза

Возможность передачи за рубеж

Возможна передача за рубеж

Дата поступления материала

18.12.2001

Инновации и люди

У павильонов Уральской выставки «ИННОВАЦИИ 2010» (г. Екатеринбург, 2010 г.)

Мероприятия на выставке "Инновации и инвестиции - 2008" (Югра, 2008 г.)

Открытие выставки "Малый бизнес. Инновации. Инвестиции" (г. Магнитогорск, 2007 г.)

Демонстрация разработок на выставке "Малый бизнес. Инновации. Инвестиции" (г. Магнитогорск, 2007 г.)