ИННОВАЦИИ БИЗНЕСУ

ПОДРОБНАЯ ИНФОРМАЦИЯ

Заявку на получение дополнительной информации по этому проекту можно заполнить здесь.

Номер

61-019-02

Наименование проекта

Аккумуляторная батарея с внутренним обогревом

Назначение

Для изготовления аккумуляторных батарей для эксплуатации в условиях низких температур

Рекомендуемая область применения

Техническое обслуживание автомобилей

Описание

Описание к ИЛ №61-019-02

Результат выполнения конструкторской разработки.

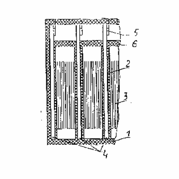
Аккумуляторная батарея содержит корпус моноблочного типа 1 (см.рисунок) с перегородками 2, причем перегородки выполнены полыми, разнополярные электроды собранные в блоки и разделенные сепараторами. Кроме того, стенки моноблока3, параллельные электродам, также могут быть выполнены полыми с размещением в них нагревателей4, что дает дополнительный тепловой эффект. Нагреватели выполнены плоскими в виде тепловых труб Гровера и размещены в полостях перегородок. Дополнительные нагреватели5имеют тепловой контакт с нагревателями над крышкой6моноблока.

Для исключения потерь теплоты в окружающей среде дополнительные нагреватели закрыты крышкой, изготовленной из материала, имеющего низкую теплопроводность. На крышке установлены электрические выводы, которые соединяются с дополнительными нагревателями. Дополнительные нагреватели соединяются с источником электрической энергии параллельно.

Аккумуляторная батарея работает следующим образом.

Заряженная батарея охлаждается до требуемой температуры, после чего к выводам подключают источник постоянного или переменного напряжения величиной от 12 до 30В.

При этом мощность, выделяемая на дополнительных нагревателях, определяется величиной их электросопротивления. При прохождении электрического тока температура тепловыделяющих элементов повышается и через нагреватели передается электродам и электролиту внутри аккумулятора. Кроме того, под действием возникающих от разности температур конвективных потоков начинается перемещение теплого и холодного электролита, вследствие чего средняя температура в аккумуляторах дополнительно повышается. Разогрев прекращается при достижении температуры, обеспечивающей надежный пуск двигателя и заряд батареи.

При низких температурах должен обеспечиваться нагрев электродного блока за 20 мин от температура 50 град. Цельсия до температуры 18 град.Цельсия в наиболее холодной точке. При этом максимальный перепад температур между"холодными"и"горячими"точками электродного блока не должен превышать 10 кельвинов.




Преимущества перед известными аналогами

Упрощена технология сборки аккумуляторных батарей с нагревателями

Стадия освоения

Внедрено в производство

Результаты испытаний

Соответствует технической характеристике изделия (устройства)

Технико-экономический эффект

Улучшение качества изделия в 1,3 раза

Возможность передачи за рубеж

Возможна передача за рубеж

Дата поступления материала

18.12.2001

Инновации и люди

У павильонов Уральской выставки «ИННОВАЦИИ 2010» (г. Екатеринбург, 2010 г.)

Мероприятия на выставке "Инновации и инвестиции - 2008" (Югра, 2008 г.)

Открытие выставки "Малый бизнес. Инновации. Инвестиции" (г. Магнитогорск, 2007 г.)

Демонстрация разработок на выставке "Малый бизнес. Инновации. Инвестиции" (г. Магнитогорск, 2007 г.)