ИННОВАЦИИ БИЗНЕСУ

ПОДРОБНАЯ ИНФОРМАЦИЯ

Заявку на получение дополнительной информации по этому проекту можно заполнить здесь.

Номер

61-017-02

Наименование проекта

Сварочный аппарат инверторного типа ФОРА-250ПР

Назначение

Для электродуговой сварки стальных материалов, деталей и агрегатов

Рекомендуемая область применения

Производство сварочных работ

Описание

Результат выполнения конструкторской разработки.

Сварочный аппарат ФОРА 250-ПР предназначен для ручной электродуговой сварки стальных материалов, деталей и агрегатов, имеющих в местах сварного шва толщину от 0,5 до 16,0 мм.

Сварочный аппарат ФОРА-250ПР выполнен в виде переносного блока.

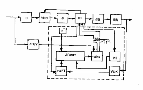
Сварочный аппарат включает в свой состав:входной выпрямитель В (см.схему), устройство плавного включения УПВ, входной фильтр Ф, транзисторный преобразователь ТП, выходной выпрямитель ВВ, источник питания устройства управления ИПУУ, индикатор включения и исправности И, задающий генератор и формирователь логики управления ЗГГФЛУ, триггер ТГ, формирователь импульсов управления ФИУ, выходной дроссель ВД, устройство ограничения и регулирования тока УОРТ, устройство формирования"жесткой"выходной вольтамперной характеристики УФХ, устройство защиты от перегрева транзисторов преобразователя УЗ.

Сварка производится штучными плавкими электродами любой марки диаметром 3-5,0 мм при дуге, образованной постоянным током, регулируемым с панели управления аппарата.

Аппарат может применяться в составе сварочных аппаратов. Для этих целей предусмотрена возможность дополнительного регулирования выходного напряжения (на дуге) в пределах от 17 до 23 В.

Продолжительность работы устанавливается автоматическим срабатыванием тепловой защиты с индикацией на передней панели.

В основу работы аппарата положен метод высокочастотного преобразования электрической энергии.

Напряжение сети выпрямляется входным выпрямителем, сглаживается входным фильтром.




Преимущества перед известными аналогами

Надежность работы и высокое качество сварки

Стадия освоения

Внедрено в производство

Результаты испытаний

Соответствуют технической характеристике устройства

Технико-экономический эффект

Улучшение качества изделия в 1,3 раза

Возможность передачи за рубеж

Возможна передача за рубеж

Дата поступления материала

29.11.2001

Инновации и люди

У павильонов Уральской выставки «ИННОВАЦИИ 2010» (г. Екатеринбург, 2010 г.)

Мероприятия на выставке "Инновации и инвестиции - 2008" (Югра, 2008 г.)

Открытие выставки "Малый бизнес. Инновации. Инвестиции" (г. Магнитогорск, 2007 г.)

Демонстрация разработок на выставке "Малый бизнес. Инновации. Инвестиции" (г. Магнитогорск, 2007 г.)