ИННОВАЦИИ БИЗНЕСУ

ПОДРОБНАЯ ИНФОРМАЦИЯ

Заявку на получение дополнительной информации по этому проекту можно заполнить здесь.

Номер

61-015-02

Наименование проекта

Распылитель форсунки для впрыскивания топлива методом соударяющихся струй

Назначение

Для двигателя внутреннего сгорания с воспламенением от сжатия

Рекомендуемая область применения

Техническое обслуживание автомобилей

Описание

Описание к ИЛ №61-015-02

Результат выполнения конструкторской разработки.

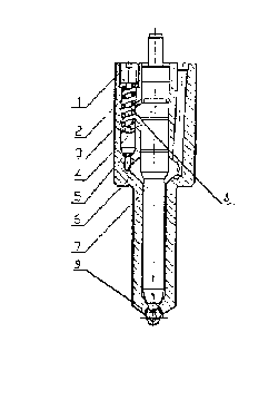
Распылитель форсунки для двигателя внутреннего сгорания состоит из регулировочного винта 1 (см.рисунок), пружины клапана 2, дифференциального клапана 5, корпуса 6, запорной иглы 7. Запорная игла имеет кольцевую проточку 4, соединенную каналом 3 в корпусе распылителя 6 с полостью над дифференциальным клапаном. В корпусе распылителя имеются компенсационная полость 8, соединенная с топливоподводящим каналом, в которой дифференциальный клапан под действием пружины прижимается к запорной конической поверхности, образуя герметичное соединение, а также сопловые отверстия 9, расположенные попарно таким образом, что каждая пара имеет одно отверстие в запорной конусе седла распылителя, а второе в колодце распылителя, что обеспечивает впрыскивание топлива методом соударяющихся струй.

Устройство работает следующим образом.

При впрыскивании топлива методом соударяющихся струй изменение формы топливного факела, а именно"раскрытие"и"схлопывание"полого конуса топливного факела, происходит на этапах подъема и опускания запорной иглы, когда существует изменение разности давлений топлива на входе во встречные сопловые отверстия. Данное устройство обеспечивает минимум два этапа подъема и опускания иглы.

При посадке запорной иглы форсунки в седло дифференциальный клапан выполняет демпфирование возникающих волн давления в системе, так как в этот момент он находится в промежуточном положении, а значение давления, при котором поисходит посадка его в седло, меньше давления посадки запорной иглы форсунки.

При поддержании остаточного давления в системе топливо из компенсационной полости под воздействием пружины вытесняется дифференциальным клапаном, тем самым создавая необходимое остаточное давление в трубопроводе высокого давления.

Применение данной конструкции распылителя позволяет повысить эффективность преимущества впрыскивания топлива методом соударяющихся струй на всех режимах работы дизеля.




Преимущества перед известными аналогами

Повышение экономичности

Стадия освоения

Внедрено в производство

Результаты испытаний

Соответствует технической характеристике изделия (устройства)

Технико-экономический эффект

Улучшение качества изделия в 2 раза

Возможность передачи за рубеж

Возможна передача за рубеж

Дата поступления материала

30.08.2001

Инновации и люди

У павильонов Уральской выставки «ИННОВАЦИИ 2010» (г. Екатеринбург, 2010 г.)

Мероприятия на выставке "Инновации и инвестиции - 2008" (Югра, 2008 г.)

Открытие выставки "Малый бизнес. Инновации. Инвестиции" (г. Магнитогорск, 2007 г.)

Демонстрация разработок на выставке "Малый бизнес. Инновации. Инвестиции" (г. Магнитогорск, 2007 г.)