ИННОВАЦИИ БИЗНЕСУ

ПОДРОБНАЯ ИНФОРМАЦИЯ

Заявку на получение дополнительной информации по этому проекту можно заполнить здесь.

Номер

61-014-02

Наименование проекта

Сварочный аппарат постоянного тока ФОРА-115Б

Назначение

Для электродуговой сварки стальных материалов, деталей и агрегатов, имеющих в местах сварного шва толщину от 0,5 до 6,0 мм

Рекомендуемая область применения

Производство сварочных работ

Описание

Результат выполнения конструкторской разработки.

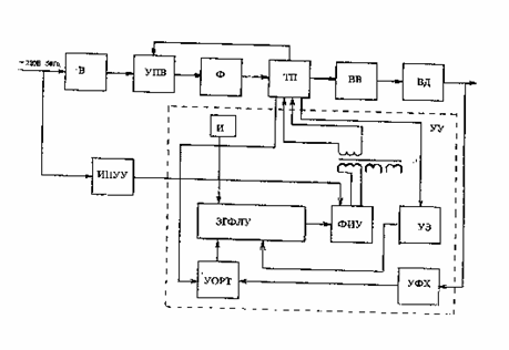
В состав сварочного аппарата постоянного тока входят:

входной выпрямитель В( см.схему);

устройство плавного включения УПВ;

входной фильтр Ф;

транзисторный преобразователь ТП;

выходной выпрямитель ВВ;

устройство управления УУ;

источник питания устройства управления ИПУУ;

индикатор включения и исправности И;

задающий генератор и формирователь логики управления ЗГФЛУ;

триггер ТГ;

формирователь импульсов управления ФИУ;

выходной дроссель ВД;

устройство ограничения и регулирования тока УОРТ;

устройство защиты от перегрева транзисторов преобразователя УЗ;

устройство формирования"жесткой"выходной вольтамперной характеристикиУФХ.

Конструктивно аппарат выполнен в виде переносного моноблока. На передней панели расположены индикатор срабатывания тепловой защиты и индикатор, сигнализирующий о включении и исправном состоянии аппарата.

В нижней части передней панели находится колодка для присоединения сварочных кабелей.

На задней панели размещены тумблер включения аппарата и потенциометр регулирования сварочного тока.

В основу работу прибора положен метод высокочастотного преобразования электрической энергии.

Напряжение сети выпрямляется входным выпрямителем, сглаживается входным фильтром и поступает на вход ТП. Между входным выпрямителем и фильтром включено УПВ, обеспечивающее плавный заряд конденсаторов входного фильтра.

ТП совместно с трансформатором ФИУ представляет собой автогенератор, обеспечиващий преобразование постоянного напряжения с выхода Ф в переменное импульсное. Питание УУ обеспечивает источник питания.

Транзисторный преобразователь содержит дроссель в цепи переменного тока, соединенный последовательно с силовым трансформатором.Это обеспечивает крутопадающую выходную характеристику.

Импульсное напряжение ТП выпрямляется выходным выпрямителем и через выходной дроссель поступает на выходные клеммы аппарата.

Управление работой ТП, защиту от перегрузок по току и регулирование сварочного тока и выходного напряжения осуществляет УУ.

Индикатор исправности указывает на включенное состояние аппарата, его исправность и готовность к работе.

Логику работу ТП определяют задающий генератор и формирователь логики управления.

УОРТ, воздействуя на ЗГФЛУ, обеспечивает регулирование коллекторного тока транзисторов ТП для получения заданного тока дуги.

УЗ обеспечивает выключение транзисторов ТП при их перегреве.

Сварка производится штучными плавкими электродами любой марки диаметром 1-3,0 мм при дуге, образованной постоянным током, регулируемым в пределах от 30 до 120 А с панели управления аппарата.



Преимущества перед известными аналогами

Высокое качество сварного шва

Стадия освоения

Внедрено в производство

Результаты испытаний

Соответствуют технической характеристике устройства

Технико-экономический эффект

Улучшение качества изделия в 1,3 раза

Возможность передачи за рубеж

Возможна передача за рубеж

Дата поступления материала

26.08.2001

Инновации и люди

У павильонов Уральской выставки «ИННОВАЦИИ 2010» (г. Екатеринбург, 2010 г.)

Мероприятия на выставке "Инновации и инвестиции - 2008" (Югра, 2008 г.)

Открытие выставки "Малый бизнес. Инновации. Инвестиции" (г. Магнитогорск, 2007 г.)

Демонстрация разработок на выставке "Малый бизнес. Инновации. Инвестиции" (г. Магнитогорск, 2007 г.)