ИННОВАЦИИ БИЗНЕСУ

ПОДРОБНАЯ ИНФОРМАЦИЯ

Заявку на получение дополнительной информации по этому проекту можно заполнить здесь.

Номер

78-023-02

Наименование проекта

Установка для приготовления водотопливной эмульсии

Назначение

Осуществление контроля за качеством водотопливной эмульсии в процессе ее приготовления

Рекомендуемая область применения

Приготовление водотопливных эмульсий

Описание

Результат выполнения конструкторской разработки.



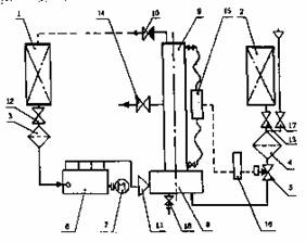
Установка содержит баки для топлива 1 (см. рис.) и воды 2, фильтры топлива 3 и воды 4, электромагнитный клапан 5, многосекционный насос высокого давления 6 с электроприводом 7, диспергатор в виде реактора 8 для приготовления водотопливной эмульсии. Внутренняя полость реактора 8 с одной стороны соединена с колонкой 9, а через проходной невозвратный клапан 10 соединена с линией перепуска эмульсии в топливный бак, с другой - сообщена с распылителями форсунок 11, установленных тангенциально к средней окружности внутренней камеры реактора 8 и соединенных трубопроводами высокого давления с многосекционным насосом высокого давления 6, полость низкого давления которого через проходной клапан 12 и фильтр топлива 3 соединена с баком 1. В нижнюю часть реактора 8 через жиклер (на рис. не показан), через проходной клапан 13, фильтр воды 4 и регулируемый электромагнитный клапан 5 подается вода из бака 2. Разборная колонка 9 через проходной клапан 14 соединена с системой питания двигателя, а с другой стороны сообщена с первичным преобразователем плотности 15, соединенным электрической связью с вторичным преобразователем плотности 16, управляющим электромагнитным клапаном 5. Возможно подключение установки к стационарной водопроводной сети через клапан 17. В нижней части реактора установлен спускной клапан 18.



Преимущества перед известными аналогами

Обеспечение автоматического регулирования качества водотопливной эмульсии

Стадия освоения

Опробовано в условиях опытной эксплуатации

Результаты испытаний

Технология обеспечивает получение стабильных результатов

Технико-экономический эффект

Производительность труда повысилась на 10%

Возможность передачи за рубеж

Возможна передача за рубеж

Дата поступления материала

23.01.2002

Инновации и люди

У павильонов Уральской выставки «ИННОВАЦИИ 2010» (г. Екатеринбург, 2010 г.)

Мероприятия на выставке "Инновации и инвестиции - 2008" (Югра, 2008 г.)

Открытие выставки "Малый бизнес. Инновации. Инвестиции" (г. Магнитогорск, 2007 г.)

Демонстрация разработок на выставке "Малый бизнес. Инновации. Инвестиции" (г. Магнитогорск, 2007 г.)