ИННОВАЦИИ БИЗНЕСУ

ПОДРОБНАЯ ИНФОРМАЦИЯ

Заявку на получение дополнительной информации по этому проекту можно заполнить здесь.

Номер

24-117-02

Наименование проекта

Устройство для рельефной сварки и клеймения

Назначение

Снижение трудоемкости.

Рекомендуемая область применения

При одновременной рельефной сварке и клеймении свариваемого узла.

Описание

Результат выполнения конструкторской разработки.

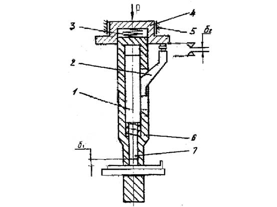
Устройство включает в себя ползун 1 (см.рисунок), упор 2, пружины 3, стакан 4, направляющие 5, электрод 6.

Привод сжатия передает усилие Р на стакан, который перемещается в направляющих и опускает электрод до соприкосновения с соединяемыми деталями. При дальнейшем перемещении стакан деформирует предварительно сжатую тарированную пружину, которая передает усилие на электрод. Электрод, соприкасаясь с деталями, останавливается. Стакан под действием привода сжатия продолжает опускаться, сжимая пружину, и через упор воздействует на ползун с закрепленным в нем клеймом, перемещая их относительно электрода. При перемещении клейма в полости электрода на величину s 21, стакан через электрический датчик включает сварочный ток и продолжает опускаться, прижимая клеймо к детали усилием, развиваемым приводом сжатия.

Устройство установлено на контактной машине, в которой передача усилий на электроды от привода сжатия обеспечивается через тарированную пружину.


Общий вид устройства

Преимущества перед известными аналогами

Надежность в эксплуатации.

Стадия освоения

Внедрено в производство

Результаты испытаний

Технология обеспечивает получение стабильных результатов

Технико-экономический эффект

Снижение трудоемкости в 2 раза.

Возможность передачи за рубеж

Возможна передача за рубеж

Дата поступления материала

11.04.2002

Инновации и люди

У павильонов Уральской выставки «ИННОВАЦИИ 2010» (г. Екатеринбург, 2010 г.)

Мероприятия на выставке "Инновации и инвестиции - 2008" (Югра, 2008 г.)

Открытие выставки "Малый бизнес. Инновации. Инвестиции" (г. Магнитогорск, 2007 г.)

Демонстрация разработок на выставке "Малый бизнес. Инновации. Инвестиции" (г. Магнитогорск, 2007 г.)