ИННОВАЦИИ БИЗНЕСУ

ПОДРОБНАЯ ИНФОРМАЦИЯ

Заявку на получение дополнительной информации по этому проекту можно заполнить здесь.

Номер

02-021-02

Наименование проекта

Способ пайки переходных колец к изоляторам

Назначение

Пайка переходных колец к изоляторам способом, повышающим надежность деталей

Рекомендуемая область применения

Армирование изоляторов

Описание

Описаниек ИЛ № 02-021-02

Результат выполнения технологической разработки.

Данный способ относится к области электротехнического машиностроения, преимущественно конденсаторостроения и может быть использован при армировании изоляторов.


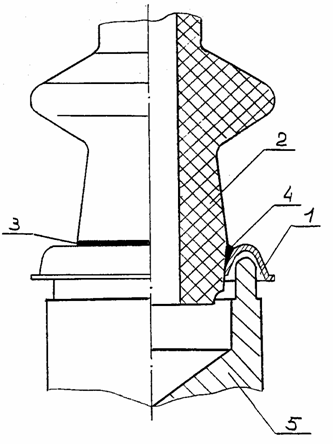
Способ пайки переходных колец к изоляторам включает (см. рисунок) установку переходного кольца 1 на изолятор 2, центрацию его по границе металлизированного слоя 3, нанесение припоя 4 с флюсом. На изолятор, по всему периметру устанавливают припой, а пайку осуществляют путем передачи тепла последовательно от источника 5 к металлическому переходному кольцу, которое нагревает припой, а затем от припоя к металлизированному пояску изолятора, при этом нагрев выполняют одновременно по всему периметру детали.

Таким образом, предложенный способ пайки переходных колец к изоляторам, позволяет повысить надежность пайки, повысить производительность труда.

Преимущества перед известными аналогами

Повышение надежности пайки, экономия драгоценного металла и припоя

Стадия освоения

Внедрено в производство

Результаты испытаний

Обеспечено получение стабильных результатов

Технико-экономический эффект

Улучшение качества получаемых деталей, увеличение производительности в 1,5 раза

Возможность передачи за рубеж

Возможна передача за рубеж

Дата поступления материала

01.03.2002

Инновации и люди

У павильонов Уральской выставки «ИННОВАЦИИ 2010» (г. Екатеринбург, 2010 г.)

Мероприятия на выставке "Инновации и инвестиции - 2008" (Югра, 2008 г.)

Открытие выставки "Малый бизнес. Инновации. Инвестиции" (г. Магнитогорск, 2007 г.)

Демонстрация разработок на выставке "Малый бизнес. Инновации. Инвестиции" (г. Магнитогорск, 2007 г.)