ИННОВАЦИИ БИЗНЕСУ

ПОДРОБНАЯ ИНФОРМАЦИЯ

Заявку на получение дополнительной информации по этому проекту можно заполнить здесь.

Номер

83-298-01

Наименование проекта

Гидроподкормщик мультипликаторного типа

Назначение

Внесение в почву жидких удобрений и химических веществ

Рекомендуемая область применения

Растениеводство

Описание

Частное техническое решение, имеющее самостоятельное значение.

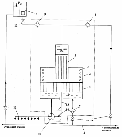
Разработан гидроподкормщик дождевальной машины мультипликаторного типа, в работе которого используется энергия поливной воды из напорного трубопровода, что позволяет вносить жидкие удобрения одновременно с по­ливной водой из закрытой оросительной сети.

Гидроподкормщик мультипликаторного типа устанавливается перед гид­рантом напорного трубопровода (см.рисунок). Гидроподкормщик позволят вводить насыщенного раствора минеральных удобрений, находящегося в емко­сти 1 под атмосферным давлением, в напорный трубопровод 2 под давлением 0,49 - 0,70 МПа (в зависимости от марки дождевальной машины). Гидропод­кормщик состоит из цилиндра 3, поршня 4 с плунжером 5, пружины 6, клапа­нов 7, 8, 9 и крана 10. Кроме того, в состав устройства входит перфорирован­ный трубопровод 11.

Для пуска устройства в работу необходимо открыть вентили 12. Вода из напорного трубопровода 2 под давлениемp 1поступает через клапан 7 в ниж­нюю полость цилиндра 3 и, воздействует на поршень 4 одновременно сжимая пружину6,вытеснит раствор удобрений под давлением Р 2 через клапан 8 в на­порный трубопровод 2. В конце хода поршня вверх рычаг 13 с регулируемым упором 14 повернет кран 10 и соединит нижнюю полость цилиндра с перфори­рованным трубопроводом 11. При этом энергия сжатой пружины посредством поршня 4 вытеснит воду из нижней полости цилиндра в перфорированный тру­бопровод. Одновременно через клапан 9 раствор удобрений поступит в надплунжерное пространство насоса. В конце хода поршня 4 вниз рычаг 14 закроет кран 10 и процесс повторится.

Количество подаваемого раствора регулируется изменением хода плун­жера посредством перемещения упора 14, управляющего краном 10.


Схема гидроподкормщика мультипликаторного типа

Преимущества перед известными аналогами

Удобрения и химические вещества вносятся одновременно с поливной водой из закрытой оросительной сети

Стадия освоения

Внедрено в производство

Результаты испытаний

Технология обеспечивает получение стабильных результатов

Технико-экономический эффект

Используется только энергия поливной воды. Простота конструкции обеспечивает повышение эксплуатационной надежности в 2 раза.

Возможность передачи за рубеж

Возможна передача за рубеж

Дата поступления материала

23.08.2006

Инновации и люди

У павильонов Уральской выставки «ИННОВАЦИИ 2010» (г. Екатеринбург, 2010 г.)

Мероприятия на выставке "Инновации и инвестиции - 2008" (Югра, 2008 г.)

Открытие выставки "Малый бизнес. Инновации. Инвестиции" (г. Магнитогорск, 2007 г.)

Демонстрация разработок на выставке "Малый бизнес. Инновации. Инвестиции" (г. Магнитогорск, 2007 г.)