ИННОВАЦИИ БИЗНЕСУ

ПОДРОБНАЯ ИНФОРМАЦИЯ

Заявку на получение дополнительной информации по этому проекту можно заполнить здесь.

Номер

52-025-01

Наименование проекта

Зубчатая передача с карманами для смазочного материала в зубчатом венце

Назначение

Увеличение срока службы зубчатой передачи

Рекомендуемая область применения

Для использования в простых и планетарных силовых узлах энергетических установок

Описание

025-01

Результат выполнения конструкторской разработки.

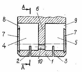
Зубчатая передача содержит колесо с податливым венцом 1 с радиальными прорезями 2 и 3 малой ширины и высотой, равной высоте головки зуба (см. рисунок). С торцовых поверхностей венца 1 в каждом зубе выполнены карманы 4 и 5, которые разделены перегородкой 6. Каждый карман закрыт планкой 7, при этом полости карманов у ножки зуба остаются открытыми, образуя протоки 8 и 9 для жидкостного смазочного материала.



Зубчатая передача работает следующим образом. При погружении зубчатого венца 1 карманы 4 и 5 через протоки 8 и 9 заполняются смазочным материалом. Отверстие 10 в перегородке 6 способствует более полному заполнению карманов 4 и 5 жидкостью, предотвращая образование воздушных пробок. При вращении колеса под действием центробежных сил смазочный материал продавливается через прорези 2 и 3 малой ширины и поступает в зону зацепления. Часть смазочного материала остается в карманах и пополняется при окунании зубчатого венца в жидкостный смазочным материал.



Рис. 1. Венец зубчатого колеса

а) продольный разрез венца;

б) поперечное сечение зубца колеса.

Преимущества перед известными аналогами

Аналоги не известны

Стадия освоения

Опробовано в условиях опытной эксплуатации

Результаты испытаний

Технология обеспечивает получение стабильных результатов

Технико-экономический эффект

Увеличение ресурса зубчатой передачи на 30-45 %

Возможность передачи за рубеж

Возможна передача за рубеж

Дата поступления материала

15.12.2000

Инновации и люди

У павильонов Уральской выставки «ИННОВАЦИИ 2010» (г. Екатеринбург, 2010 г.)

Мероприятия на выставке "Инновации и инвестиции - 2008" (Югра, 2008 г.)

Открытие выставки "Малый бизнес. Инновации. Инвестиции" (г. Магнитогорск, 2007 г.)

Демонстрация разработок на выставке "Малый бизнес. Инновации. Инвестиции" (г. Магнитогорск, 2007 г.)