Заявку на получение дополнительной информации по этому проекту можно заполнить здесь.
|
Номер 51-205-01 |
||||||||||||
|
Наименование проекта Комбинированный сошник |
||||||||||||
|
Назначение Для посева пропашных, овощных и бахчевых культур |
||||||||||||
|
Рекомендуемая область применения Сельскохозяйственное производство - посевные машины и орудия. |
||||||||||||
|
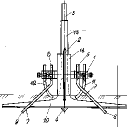
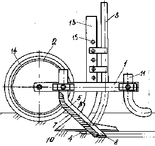
Описание Результат выполнения научно-исследовательской работы. Комбинированный сошник содержит установленные на поводке 1 (см. рисунки) свободно вращающийся плоский диск 2, неподвижно закрепленные семянаправитель 3 и бороздообразующий рабочий орган, нижний обрез которого выполнен в виде части килевидного сошника 4. Бороздообразующий рабочий орган снабжен оппозитно установленными дополнительными плоскорежущими лапами 5 и 6 с режущими кромками 7 на фронтальных частях. Нижние части лап 5 и 6 изогнуты от плоскости диска 2 под углом к горизонту и представлены лезвиями 8 и 9. Стойки упомянутых лап 5 и 6 размещены на поводке 1 с возможностью переустановки по высоте. Бороздообразующий рабочий орган имеет стрельчатую полольную лапу 10 и выравниватели 11 и 12 поверхности рядка в виде обращенных друг к другу криволинейных лап. Стрельчатая лапа 10 размещена спереди семянаправителя 3 и симметрично плоскости диска 2. Килевидная часть сошника 4 размещена на нижнем срезе стойки 13 стрельчатой полольной лапы 10. Плоский диск 2 по требованию заказчика может быть снабжен ограничительной ребордой 14 соответствующего диаметра. Семянаправитель 3 на стойке 13 стрельчатой плоскорежущей лапы 10 размещен с возможностью взаимной переустановки в отверстиях 15 стойки 13. Комбинированный сошник работает следующим образом. Наибольший интерес на потребительском рынке представляют арбузы столовых сортов, выращенные на легких и песчаных почвах. В условиях резко-континентального климата с быстрым нарастанием температуры воздуха, как правило, погода изменяется мгновенно, приводя к движению большие воздушные массы. В период посева бахчевых культур скорость ветра всегда больше 5 м/с. Зачастую скорость ветра достигает 15-20 м/с. Для сохранения почвы и исключения ветровой эрозии посев проводят в обработанных плоскостях шириной 270-330 мм с удалением друг от друга на расстоянии 1,4 м или 2,8 м. При перемещении посевного агрегата плоский диск 2 разрезает вертикально пласт почвы. Ограничительная реборда 14 приминает оставшиеся от предшественника растительные и пожнивные остатки. Плоский диск 2 и ограничительная реборда 14 исключают нависание пожнивных остатков и холодостойких сорняков на стойку 13 стрельчатой полольной лапы 10. Лезвия 8 и 9 подрезают наклонно часть пласта почвы. Режущие кромки 7 и их наклонные положения позволяют подрезать корни сорняков и пожнивные остатки. Наклонными лезвиями 8 и 9 формируются откосы 16 и 17 (рис. 4). Режущая кромка полольной стрельчатой лапы 10 подрезает верхний слой почвы в пределах глубины заделки семян бахчевых культур (6-12 см). Часть килевидного сошника 4 формирует на поверхности среза 18 семенное ложе 19. Семянаправителем 3 семена от высевающего аппарата подаются на семенное ложе 19. Семянаправителем 3 семена от высевающего аппарата подаются на семенное ложе 19. Уложенные семена накрываются слоем влажной почвы и сверху присыпаются подсушенным слоем криволинейными лапами выравнивателей 11 и 12 поверхности рядка. Таким образом, производится предпосевная обработка почвы и посев бахчевых культур на легких и эрозионно-опасных почвах. Основание, образованное между откосами и семенным ложем 19, способствует устойчивому закреплению корней бахчевых культур. По этой причине растения бахчевых культур не погибают от развевания плетей в период суховеев. Посев бахчевых культур на легких и эрозионно-опасных массивах исключает процессы ветровой эрозии. Посев комбинированным сошником пропашных, овощных и бахчевых культур, в частности арбуза столового сорта Мелитопольский 142, обеспечивает гарантированную прибавку урожая на 22-28% с превосходными вкусовыми качествами (4,5 балла).
Рис. 1
Рис. 2
Рис. 3
Рис. 4 |
||||||||||||
|
Преимущества перед известными аналогами Простота конструкции, надежность работы, соответствие сошника агротехническим требованиям, отсутствие обволакивания растительными остатками |
||||||||||||
|
Стадия освоения Опробовано в условиях опытной эксплуатации |
||||||||||||
|
Результаты испытаний Соответствует технической характеристике изделия (устройства) |
||||||||||||
|
Технико-экономический эффект Снижается тяговое сопротивление на 15%, улучшается качество посева, возрастает всхожесть семян, увеличивается урожайность на 20%. |
||||||||||||
|
Возможность передачи за рубеж Возможна передача за рубеж |
||||||||||||
|
Дата поступления материала 14.11.2001 |
У павильонов Уральской выставки «ИННОВАЦИИ 2010» (г. Екатеринбург, 2010 г.)
Мероприятия на выставке "Инновации и инвестиции - 2008" (Югра, 2008 г.)
Открытие выставки "Малый бизнес. Инновации. Инвестиции" (г. Магнитогорск, 2007 г.)
Демонстрация разработок на выставке "Малый бизнес. Инновации. Инвестиции" (г. Магнитогорск, 2007 г.)