ИННОВАЦИИ БИЗНЕСУ

ПОДРОБНАЯ ИНФОРМАЦИЯ

Заявку на получение дополнительной информации по этому проекту можно заполнить здесь.

Номер

51-148-01

Наименование проекта

Фрикционный ключ

Назначение

Создание значительного крутящего момента на гайку при небольших габаритных размерах ключа.

Рекомендуемая область применения

Слесарно-монтажные работы.

Описание

Результат выполнения конструкторской разработки.

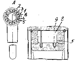
Содержит корпус 1 (см. рисунок), головку 2, концентрично расположенную относительно ее оси обойму 3 с заклинивающими поверхностями 4, ролики 5, размещенные между заклинивающими поверхностями 4 обоймы 3 и внутренней поверхностью 6 головки 2, разделенные между собой перегородками 7. Перегородки выполнены в виде двух упругих проволочек 8 и 9, закрепленных попарно одними концами нормально к заклинивающим поверхностям 4 и обоймы 3.

Фрикционный ключ работает следующим образом. Ключ устанавливается на затягиваемое соединение. При вращении рукоятки ключа по часовой стрелке ролики 5 увлекаются в узкую часть между обоймой 3 и внутренней поверхностью 6 головки 2. Происходит заклинивание роликов 5 и совместное вращение корпуса 1 ключа с обоймой 3, т.е. заворачивание гайки. При повороте рукоятки в обратном направлении ролики 5 расклиниваются, отжимают упругие перегородки 7. Обойма 3 и гайка при этом остаются неподвижными.




Преимущества перед известными аналогами

Для увеличения передаваемого крутящего момента и уменьшения размеров ключа упоры выполнены в виде двух упругих проволочек, закрепленных попарно одними концами к заклинивающим поверхностям обоймы.

Стадия освоения

Внедрено в производство

Результаты испытаний

Соответствует технической характеристике изделия (устройства)

Технико-экономический эффект

Повысилась производительность труда в 1,3 раза. Повысились качество и надежность сборочных узлов.

Возможность передачи за рубеж

Возможна передача за рубеж

Дата поступления материала

20.08.2001

Инновации и люди

У павильонов Уральской выставки «ИННОВАЦИИ 2010» (г. Екатеринбург, 2010 г.)

Мероприятия на выставке "Инновации и инвестиции - 2008" (Югра, 2008 г.)

Открытие выставки "Малый бизнес. Инновации. Инвестиции" (г. Магнитогорск, 2007 г.)

Демонстрация разработок на выставке "Малый бизнес. Инновации. Инвестиции" (г. Магнитогорск, 2007 г.)