ИННОВАЦИИ БИЗНЕСУ

ПОДРОБНАЯ ИНФОРМАЦИЯ

Заявку на получение дополнительной информации по этому проекту можно заполнить здесь.

Номер

42-021-01

Наименование проекта

Приспособление для подготовки проволоки при производстве гвоздей

Назначение

Для очистки окисленной и загрязненной проволоки при производстве гвоздей.

Рекомендуемая область применения

Очистка проволоки

Описание

Данная разработка является результатом выполнения конструкторской разработки.


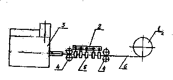
Приспособление (см. рисунок) состоит из разматывателя1, очистного устройства 2 и гвоздильного станка 3. Проволока 6 с разматывателя поступает в очистное устройство с направляющими роликами 4 и очистными элементами 5, контактирующими с проволокой. Очистка проволоки осуществляется за счет ее перемещения относительно очистных элементов очистного устройства при подаче проволоки в гвоздильный станок. С внедрением приспособления повысилось качество гвоздей. Снизились простои станка, связанные с ремонтом.

Приспособление для подгонки проволоки при производстве гвоздей

Преимущества перед известными аналогами

Простота и удобство в эксплуатации

Стадия освоения

Внедрено в производство

Результаты испытаний

Данная технология позволяет получать стабильные результаты

Технико-экономический эффект

На 25% снизились простои гвоздильного станка.

Возможность передачи за рубеж

Возможна передача за рубеж

Дата поступления материала

05.04.2001

Инновации и люди

У павильонов Уральской выставки «ИННОВАЦИИ 2010» (г. Екатеринбург, 2010 г.)

Мероприятия на выставке "Инновации и инвестиции - 2008" (Югра, 2008 г.)

Открытие выставки "Малый бизнес. Инновации. Инвестиции" (г. Магнитогорск, 2007 г.)

Демонстрация разработок на выставке "Малый бизнес. Инновации. Инвестиции" (г. Магнитогорск, 2007 г.)