ИННОВАЦИИ БИЗНЕСУ

ПОДРОБНАЯ ИНФОРМАЦИЯ

Заявку на получение дополнительной информации по этому проекту можно заполнить здесь.

Номер

24-237-01

Наименование проекта

Регулятор реактивной мощности РММ2-U

Назначение

Экономия электрической энергии при потреблении реактивной мощности.

Рекомендуемая область применения

При многоступенчатом автоматическом дискретном регулировании реактивной мощности конденсаторных установок напряжением 380В.

Описание

Результат выполнения конструкторской разработки.

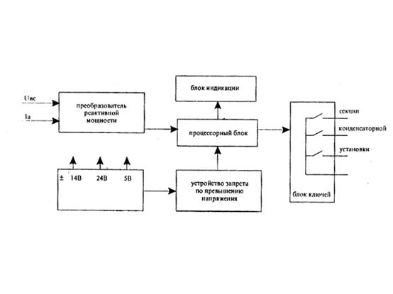
Блок-схема регулятора включает преобразователь реактивной мощности (см.рисунок), блок индикации, процессорный блок, устройство запрета по превышению напряжения, блок ключей.

На входы преобразователя реактивной мощности подается линейное напряжение сети и ток нагрузки от вторичной обмотки трансформатора тока. При этом ток и напряжение выбирают таким образом, чтобы между ними был угол фазового сдвига 90 о. Получаемое на выходе преобразователя напряжение, пропорциональное реактивной мощности, подается на процессорный блок.

Подключение секций конденсаторной установки осуществляется подачей команды от процессорного блока на блок ключей и сопровождается включением соответствующих индикаторов блока индикации.

Устройство запрета по превышению напряжения вырабатывает запрет включения секций конденсаторной установки при напряжении, превышающем установленное значение и индикацию превышения напряжения.

Процессорный блок осуществляет самонастройку регулятора реактивной мощности путем последовательного подключения секций конденсаторной установки, измерения мощностей секций и хранение в памяти измеренных значений. В процессе регулирования реактивной мощности процессорный блок измеряет значение реактивной мощности и один раз в две минуты выдает команду на подключение секций конденсаторной установки, обеспечивающих максимальную компенсацию

Принцип регулирования реактивной мощности - поддержание минимально возможного потребления реактивной мощности из сети.


Блок-схема регулятора

Преимущества перед известными аналогами

Регулятор является самонастраивающимся; регулирование ведется по величине потребляемой мощности; для каждого момента времени регулятор вычисляет оптимальную комбинацию секций из числа имеющихся в установке.

Стадия освоения

Опробовано в условиях опытной эксплуатации

Результаты испытаний

Соответствует технической характеристике изделия (устройства)

Технико-экономический эффект

Экономия электроэнергии в 2 раза, освобождает предприятие от уплаты за реактивную мощность.

Возможность передачи за рубеж

Возможна передача за рубеж

Дата поступления материала

19.11.2001

Инновации и люди

У павильонов Уральской выставки «ИННОВАЦИИ 2010» (г. Екатеринбург, 2010 г.)

Мероприятия на выставке "Инновации и инвестиции - 2008" (Югра, 2008 г.)

Открытие выставки "Малый бизнес. Инновации. Инвестиции" (г. Магнитогорск, 2007 г.)

Демонстрация разработок на выставке "Малый бизнес. Инновации. Инвестиции" (г. Магнитогорск, 2007 г.)