ИННОВАЦИИ БИЗНЕСУ

ПОДРОБНАЯ ИНФОРМАЦИЯ

Заявку на получение дополнительной информации по этому проекту можно заполнить здесь.

Номер

20-359-01

Наименование проекта

Устройство для пространственного динамометрирования

Назначение

Лимитное, плоскостное и пространственное динамометрирование при испытании рабочих органов почвообрабатывающих машин.

Рекомендуемая область применения

Научно-исследовательские работы в создании почвообрабатывающей техники.

Описание

Результат выполнения конструкторской разработки.

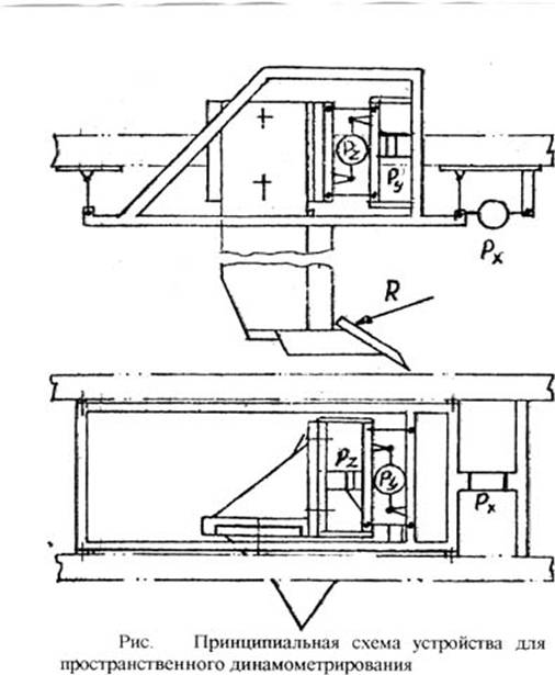
Устройство состоит из трех взаимно перпендикулярных четырехзвенников и трех тензометрических звеньев конструкции ВИСХОМ, звенья непосредственно замеряют горизонтальную, вертикальную и боковую составляющие тягового сопротивления без определения места приложения результирующей силы. Усилия записываются на осциллограф.

Раму устройства скобами крепят к раме рыхлителя или к раме динамометрической тяговой телеги большого почвенного канала. За счет применения сменного крепежного кронштейна на устройстве можно динамометрировать различные рабочие органы.

Благодаря компактности устройство монтируют два человека без использования грузоподъемных механизмов.

Принципиальная схема устройства представлена на рисунке.

Преимущества перед известными аналогами

Устройство упрощает схему пространственного динамометрирования, дает возможность получить составляющие тягового сопротивления без сложного пересчета.

Стадия освоения

Внедрено в производство

Результаты испытаний

Соответствует технической характеристике изделия (устройства)

Технико-экономический эффект

Снижение тррудоемкости на 45%.

Возможность передачи за рубеж

Возможна передача за рубеж

Дата поступления материала

25.09.2001

Инновации и люди

У павильонов Уральской выставки «ИННОВАЦИИ 2010» (г. Екатеринбург, 2010 г.)

Мероприятия на выставке "Инновации и инвестиции - 2008" (Югра, 2008 г.)

Открытие выставки "Малый бизнес. Инновации. Инвестиции" (г. Магнитогорск, 2007 г.)

Демонстрация разработок на выставке "Малый бизнес. Инновации. Инвестиции" (г. Магнитогорск, 2007 г.)