ИННОВАЦИИ БИЗНЕСУ

ПОДРОБНАЯ ИНФОРМАЦИЯ

Заявку на получение дополнительной информации по этому проекту можно заполнить здесь.

Номер

83-126-01

Наименование проекта

Отопительный котел

Назначение

Местное водяное отопление, горячее водоснабжение жилых и производственных помещений

Рекомендуемая область применения

Обогрев жилых и производственных помещений, подогрев воды на бытовые нужды

Описание

Частное техническое решение, имеющее самостоятельное значение.

Предлагаемый отопительный котел предназначен для обогрева индивидуальных домов, производственных помещений, а также для подогрева воды на бытовые нужды.


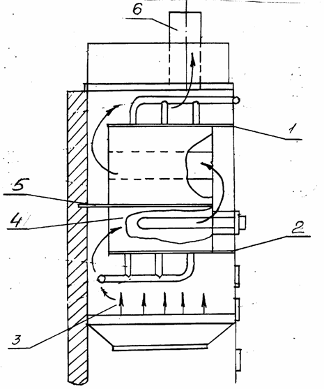
Наличие в конструкции котла трех горизонтально установленных перегородок 1, 2, 5 (см. рисунок) обеспечивает лабиринтное движение топочных газов. Топочные газы из топочного устройства 3, последовательно омывая поверхности теплообменника 4 и перегородок,по газоходам выводятся из котла через общий газоход 6. При этом высокотемпературный тракт удлиняется за счет лабиринтного движения топочных газов, улучшается теплосъем и более эффективно используется теплота продуктов сгорания. Отопительный котел содержит по меньшей мере один ТЭН, расположенный в теплообменнике. КПД котла - 82%.

Отопительный котел

Преимущества перед известными аналогами

Наличие трех горизонтально установленных перегородок, обеспечивающее лабиринтное движение топочных газов

Стадия освоения

Внедрено в производство

Результаты испытаний

Технология обеспечивает получение стабильных результатов

Технико-экономический эффект

Коэффициент полезного действия котла 82%

Возможность передачи за рубеж

Возможна передача за рубеж

Дата поступления материала

21.08.2006

Инновации и люди

У павильонов Уральской выставки «ИННОВАЦИИ 2010» (г. Екатеринбург, 2010 г.)

Мероприятия на выставке "Инновации и инвестиции - 2008" (Югра, 2008 г.)

Открытие выставки "Малый бизнес. Инновации. Инвестиции" (г. Магнитогорск, 2007 г.)

Демонстрация разработок на выставке "Малый бизнес. Инновации. Инвестиции" (г. Магнитогорск, 2007 г.)