ИННОВАЦИИ БИЗНЕСУ

ПОДРОБНАЯ ИНФОРМАЦИЯ

Заявку на получение дополнительной информации по этому проекту можно заполнить здесь.

Номер

82-025-01

Наименование проекта

Устройство для холодной стыковой сварки

Назначение

Холодная стыковая сварка медной проволоки

Рекомендуемая область применения

Сварочное производство

Описание

Результат выполнения конструкторской разработки.

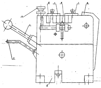
Устройство состоит (см. рис.) из корпуса 1, рычага с ручкой и роликом 2, рычажка с кулачком и пружиной 3, регулятора головки 4, узла подачи проволоки 5, сварочной головки 6, поддерживающих пластин с винтами 7, рычага с подвижной призмой 8.

В устройстве применен принцип холодной сварки под воздействием высокого давления. Для сварки оба конца свариваемой проволоки вставляются в сварочную головку и нажимается рычаг с ручкой.

Устройство для холодной стыковой сварки

Преимущества перед известными аналогами

Отсутствие потребления электроэнергии; надежность, хорошее качество сварки; простота и удобство в эксплуатации и техническом обслуживании

Стадия освоения

Внедрено в производство

Результаты испытаний

Соответствует технической характеристике изделия (устройства)

Технико-экономический эффект

Улучшение качества изделий; экономия материаловв 1,2 раза

Возможность передачи за рубеж

Возможна передача за рубеж

Дата поступления материала

14.03.2001

Инновации и люди

У павильонов Уральской выставки «ИННОВАЦИИ 2010» (г. Екатеринбург, 2010 г.)

Мероприятия на выставке "Инновации и инвестиции - 2008" (Югра, 2008 г.)

Открытие выставки "Малый бизнес. Инновации. Инвестиции" (г. Магнитогорск, 2007 г.)

Демонстрация разработок на выставке "Малый бизнес. Инновации. Инвестиции" (г. Магнитогорск, 2007 г.)