ИННОВАЦИИ БИЗНЕСУ

ПОДРОБНАЯ ИНФОРМАЦИЯ

Заявку на получение дополнительной информации по этому проекту можно заполнить здесь.

Номер

82-016-01

Наименование проекта

Склад для хранения и выдачи грузов

Назначение

Хранение и выдача различных изделий, деталей, грузов как крупногабаритных, так и мелких

Рекомендуемая область применения

Складское хозяйство

Описание

Результат выполнения конструкторской разработки.

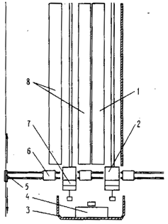
Склад состоит (см. рис.) из стеллажа 8, крана-штабелера 7, предназначенных для переработки крупногабаритных грузов, стеллажа 1 и крана-штабелера 2, предназначенных для переработки мелких грузов, транспортной тележки 6, электротали 5, рабочего места кладовщика с пунктом управления 4, ограждения 3. Стеллажи разбиты на ярусы и стальные ячейки. В последние по направляющим вставляются поддоны, на них укладываются грузы. Кран-штабелер захватывает нужный поддон и укладывает его на транспортную тележку, передвигающуюся по рельсам в зону действия электротали.

Склад для хранения и выдачи грузов

Преимущества перед известными аналогами

Универсальность, рациональность использования возможностей кранов-штабелеров, меньшее время обработки грузов, надежность, удобство в технической эксплуатации и обслуживании

Стадия освоения

Внедрено в производство

Результаты испытаний

Соответствует технической характеристике изделия (устройства)

Технико-экономический эффект

Повышение производительности труда в 1,5 раза

Возможность передачи за рубеж

Возможна передача за рубеж

Дата поступления материала

13.03.2001

Инновации и люди

У павильонов Уральской выставки «ИННОВАЦИИ 2010» (г. Екатеринбург, 2010 г.)

Мероприятия на выставке "Инновации и инвестиции - 2008" (Югра, 2008 г.)

Открытие выставки "Малый бизнес. Инновации. Инвестиции" (г. Магнитогорск, 2007 г.)

Демонстрация разработок на выставке "Малый бизнес. Инновации. Инвестиции" (г. Магнитогорск, 2007 г.)