ИННОВАЦИИ БИЗНЕСУ

ПОДРОБНАЯ ИНФОРМАЦИЯ

Заявку на получение дополнительной информации по этому проекту можно заполнить здесь.

Номер

65-392-01

Наименование проекта

Устройство преобразования вращательного движения в возвратно-поступательное

Назначение

Преобразование вращательного движения в возвратно-поступательное

Рекомендуемая область применения

Машиностроение

Описание

Результат выполнения конструкторской разработки.

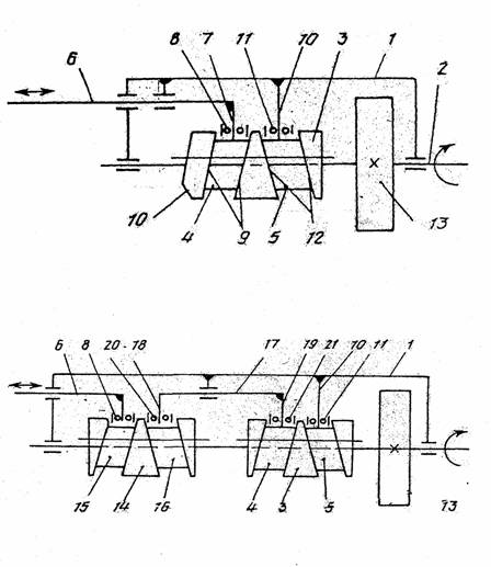
Устройство преобразования вращательного движения в возвратно-поступательное (см. рисунок) содержит корпус 1, ведущий вал 2, на котором установлена с возможностью осевого перемещения втулка 3 с кольцевыми канавками 4 и 5, наклоненными к оси втулки навстречу друг другу, шток 6 с поводком 7, предназначенным для взаимодействия через подшипники 8 с боковыми стенками 9 канавки 4, поводок 10, закрепленный в корпусе и предназначенный для взаимодействия через подшипник 11с боковыми стенками 12 канавки 5. На ведущем валу 2 установлен маховик 13.

Устройство преобразования вращательного движения в возвратно-поступательное

Устройство может быть снабжено дополнительными втулками 14 каждая с двумя канавками 15, 16, наклоненными к оси втулки навстречу друг другу, и промежуточными штоками 17 с двумя поводками 18, 19, предназначенными для взаимодействия через подшипники 20, 21с канавками 16 и 4 соседних втулок 14 и 3.

Устройство работает следующим образом. При повороте ведущего вала 2 и вместе с ним втулку 3 подшипник 11, связанный через поводок 10 с корпусом 1, сдвигает втулку 3 вдоль оси вала 2, воздействуя на боковые стенки 12 канавки 5. Одновременно боковые стенки 9 второй канавки 4 воздействуют через подшипник 8 с поводком 7 на шток 6, сдвигают его относительно корпуса. В результате шток перемещается на суммарную величину подъемов двух кольцевых канавок 4 и 5. При дальнейшем повороте ведущего вала 2 шток аналогично перемещается в обратную сторону на двойную величину подъемов кольцевых канавок. Маховик 13 обеспечивает плавность вращения вала 2.

Применение в устройстве дополнительных втулок с промежуточными штоками 17 позволяет увеличить ход штока 6 в два и более раз (в зависимости от количества втулок 14). Форма канавок 4. 5 и 15, 16 на участке подачи подшипников 8, 11 и 20, 21 влево (по чертежу) может отличаться от формы этих канавок на участке подачи подшипников вправо, что может обеспечить различные временные и фазовые характеристики перемещения штока 6 в прямом и обратном направлении (например, медленный ход штока 6 влево и быстрый ход штока 6 вправо).

Преимущества перед известными аналогами

Расширение кинематических возможностей устройства

Стадия освоения

Внедрено в производство

Результаты испытаний

Технология обеспечивает получение стабильных результатов

Технико-экономический эффект

Улучшение качества работы на 40%

Возможность передачи за рубеж

Возможна передача за рубеж

Дата поступления материала

20.12.2000

Инновации и люди

У павильонов Уральской выставки «ИННОВАЦИИ 2010» (г. Екатеринбург, 2010 г.)

Мероприятия на выставке "Инновации и инвестиции - 2008" (Югра, 2008 г.)

Открытие выставки "Малый бизнес. Инновации. Инвестиции" (г. Магнитогорск, 2007 г.)

Демонстрация разработок на выставке "Малый бизнес. Инновации. Инвестиции" (г. Магнитогорск, 2007 г.)