ИННОВАЦИИ БИЗНЕСУ

ПОДРОБНАЯ ИНФОРМАЦИЯ

Заявку на получение дополнительной информации по этому проекту можно заполнить здесь.

Номер

65-185-01

Наименование проекта

Прибор для проверки и настройки телевизионных мониторов

Назначение

Прибор предназначен для проверки и настройки телевизионных мониторов типа ВКУ-23, М15, М9.МВW, MINTPON

Рекомендуемая область применения

Метрополитен, служба сигнализации и связи

Описание

65-185-01

Результат выполнения конструкторской разработки.

До внедрения прибора проверка и настройка мониторов производилась с помощью телевизионной видеокамеры по эталонной настроечной таблице ИТ-72 на рабочем месте. При этом схема проверки и настройки получалась довольно сложной, громоздкой и неудобной в эксплуатации.

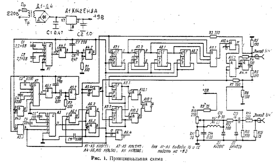
Прибор содержит в себе генератор испытательных сигналов и блок питания. Конструктивно прибор выполнен в виде закрытого пластмассового корпуса с соответствующими выходными гнездами и питающим кабелем.





Преимущества перед известными аналогами

экономичность, надежность, удобство в эксплуатации

Стадия освоения

Внедрено в производство

Результаты испытаний

Соответствует технической характеристике изделия (устройства)

Технико-экономический эффект

Снижение трудоемкости, повышение производительности труда на 40%

Возможность передачи за рубеж

Возможна передача за рубеж

Дата поступления материала

21.10.1998

Инновации и люди

У павильонов Уральской выставки «ИННОВАЦИИ 2010» (г. Екатеринбург, 2010 г.)

Мероприятия на выставке "Инновации и инвестиции - 2008" (Югра, 2008 г.)

Открытие выставки "Малый бизнес. Инновации. Инвестиции" (г. Магнитогорск, 2007 г.)

Демонстрация разработок на выставке "Малый бизнес. Инновации. Инвестиции" (г. Магнитогорск, 2007 г.)