ИННОВАЦИИ БИЗНЕСУ

ПОДРОБНАЯ ИНФОРМАЦИЯ

Заявку на получение дополнительной информации по этому проекту можно заполнить здесь.

Номер

65-181-01

Наименование проекта

Асперация автостелл в узлах разгрузки сыпучего материала в бункера

Назначение

Асперация автостелл в узлах разгрузки сыпучего материала в бункера

Рекомендуемая область применения

Цветная металлургия, строительная индустрия и т.д.

Описание

Результат выполнения конструкторской разработки.

Автостеллы - катучие конвейера нашли широкое применение в различных отраслях производства. Например, в черной и цветной металлургии, строительной индустрии при заполнении материалом бункеров.

Как показывают производственные исследования, они обслуживают галереи большой протяженности и их работа сопровождается значительными (в десятки раз превышающими ПДК) пылевыделениями в производственные помещения. Пылевыделения могут быть первичными, то есть выброс пыли и образование просыпи в процессе разгрузки автостеллами в бункера, так и вторичные, обусловленные уборкой просыпи с пола по длине конвейера, а так же осевшей пыли с оборудования.

Работа оборудования и движущихся его частей также способствует повышенному содержанию пыли во взвешенном состоянии.

Сложность решения этой проблемы обусловлена подвижностью оборудования, то есть катучего конвейера (автостелл). Процесс разгрузки происходит по всей длине галереи, размещенной над бункерами, различной степенью заполнения бункеров и рядом других факторов, которые характеризуют нестационарность процесса в пространстве и во времени.

Анализ научно-технической литературы, патентный поиск и производственные исследования показали, что необходимо решать следующие задачи, а именно:

- обеспечить эффективную локализацию пылевыделений в узлах загрузки бункера автостеллой;

- исключить пылевыделения из загружаемых бункеров;

- обеспечить условия предотвращения просыпи в загрузочном узле;

- разработать комплекс местных отсосов и очистных аппаратов глубокой обработки воздуха с использованием удаленного воздуха на рециркуляцию;

- разместить предлагаемые устройства в близи источника образования пыли, то

есть на автостелле.

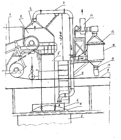
Рассматривая поставленные задачи, которые решались в течение нескольких лет на ряде предприятий Свердловской области, были достигнуты хорошие результаты. Для предотвращения пыления при загрузке бункеров, было предложено вокруг желоба, примыкающего к месту загрузки бункера, устройство камеры из полости которой удаляется запыленный воздух, а загрузочные проемы бункеров уплотнить конвейерной лентой (информационный листок СЦНТИ № 654-98). Для обработки удаляемого воздуха от узла загрузки бункера и укрытия разгрузочного барабана предложено использовать тканевый фильтр с импульсной продувкой, обеспечивающего высокую степень очистки в пределах ПДК (инф. лист № 850- 94) и разместить его на конструкции автостеллы. С целью предотвращения просыпи предусмотреть устройство для чистки холостой (разгружаемой) ветви конвейера как вблизи разгружаемого барабана, так и вдали от него (информационные листки СЦНТИ №№ 437-94 и 604-98). Предлагаемые технические решения аспирации автостелл в узлах разгрузки сыпучего материала в бункера представлен на рисунке, загружная ветвь 1, укрытие разгружаемого барабана 2, с местным отсосом от него 3 и воздуховодом 4, разгрузочный желоб 5, двойные укрытия места разгрузки желоба 6, уплотнители из конвейерной ленты 7, загрузочный проем бункера 8, разгруженная ветвь конвейера 9, гибкий рукав разгрузки уловленной пыли 10, шибер 11, тканевый фильтр с ячеистой раскладкой ткани и импульсной продувкой 12, конфузор 13, вентилятор с электродвигателем 14.

Устройства работают следующим образом. Удаляемый воздух обрабатывается в очистном аппарате до ПДК и используется на рециркуляцию. Периодически, раз в смену, производится продувка фильтра сжатым воздухом в фиксированном месте, куда подведен сжатый воздух, а уловленная пыль из бункера фильтра поступает на конвейер с последующим сбросом в бункер

Борьба с просыпью ведется путем установки для чистки незагруженной ветви конвейера от налипших пылевидных частиц в полости укрытия разгрузочного барабана и удалением пыли в желоб.

Вес установки, включающий фильтр и вентилятор с опорной площадкой и воздуховодами составляет в пределах 150-180 кг, устанавливается вблизи переходной площадки, доступен для обслуживания и перемещается вместе с

автостеллой, то есть является ее конструктивным элементом.

Технические решения в виде рабочих чертежей, то есть конструкторской документации, переданы Серовскому ферросплавному заводу для внедрения.

К информлистку "Аспирация автостелл в узлах разгрузки сыпучего материала в бункера"

(Составитель, к.т.н., доцент Килин П.И.) Подрисуночные подписи:

Рис1. Аспирация автостелл

1 - загрузочная ветвь конвейера;

2 - укрытие разгрузочного барабана;

3 - местный отсос;

4 - воздуховоды ;

5 - желоб перегружаемого материала;

6 - двойные укрытия места разгрузки желоба;

7 - уплотнение из конвейерной ленты;

8 - бункер;

9 - разгруженная ветвь конвейера;

10-гибкий рукав;

11 - шибер;

12 - тканевый ячеистый фильтр с импульсной продувкой;

13 -конфузор;

14 - вентилятор с электроприводом.





Преимущества перед известными аналогами

Аналоги не известны

Стадия освоения

Внедрено в производство

Результаты испытаний

Технология обеспечивает получение стабильных результатов

Технико-экономический эффект

Снижение трудоемкости на 25%

Возможность передачи за рубеж

Возможна передача за рубеж

Дата поступления материала

26.08.1999

Инновации и люди

У павильонов Уральской выставки «ИННОВАЦИИ 2010» (г. Екатеринбург, 2010 г.)

Мероприятия на выставке "Инновации и инвестиции - 2008" (Югра, 2008 г.)

Открытие выставки "Малый бизнес. Инновации. Инвестиции" (г. Магнитогорск, 2007 г.)

Демонстрация разработок на выставке "Малый бизнес. Инновации. Инвестиции" (г. Магнитогорск, 2007 г.)