ИННОВАЦИИ БИЗНЕСУ

ПОДРОБНАЯ ИНФОРМАЦИЯ

Заявку на получение дополнительной информации по этому проекту можно заполнить здесь.

Номер

65-120-01

Наименование проекта

Устройство уравновешивания верхнего валка рабочей клетки прокатного стана

Назначение

Для обработки металлов давлением

Рекомендуемая область применения

Металлургия, рабочие клети обжимных и заготовочных станов горячей прокатки

Описание

01

Результат выполнения конструкторской разработки.

Относится к обработке металлов давлением, более конкретно к прокатным станам, и может быть использовано в рабочих клетях обжимных и заготовочных станов горячей прокатки.

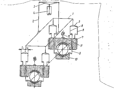
Устройство (см. рисунок) содержит траверсу 1, связанную при помощи тяг 2 и коромысла 3 с цилиндром 4. На концах траверсы шарнирно закреплены четыре двуплечих рычага 5. Каждый из рычагов одним концом соединен шарнирно с тягой 6 подушки 7, а другим концом через промежуточную тягу 8 посредством Г-образных подхватов соединен с соответствующей тягой 9 бугеля 10, при этом отношение плеч рычага 5

i1 qb + qб

--- = ----------------- ,

i2 qп + qнв

где qВ масса валка;

qб масса бугеля;

qп масса подушки;

qнв масса нажимного винта и его подпятника.

Подушки опираются через подпятники 11 на нажимные винты 12.

Устройство работает следующим образом. При вращении нажимных винтов подушки и бугели вместе с валком перемещаются синхронно поступательному движению винта за счет подвески их через систему тяг 2, 6, 8 и 9, рычагов и коромысла и противодавления в цилиндре, при этом обеспечивается выборка зазоров соответственно между валком и подушками, между подушкой и подпятником, а также между винтом и его гайкой. За счет независимой подвески бугелей и подушек к траверсе через двуплечие рычаги с упомянутым выше соотношением их плеч между валком и соответственно подушками и бугелями поддерживается автоматически минимальный уровень давления на их вкладыши.

При перевалке валков вращением нажимных винтов подушки с бугелями и валком опускаются и устанавливаются с помощью протавок на подушки нижнего валка, сбросом давления в цилиндре траверса дополнительно опускается на некоторую величину и между Г-образными подхватами тяг 6 и 8 и соответственно подушек и тяг образуется зазор для свободного вывода валка и подушек с бугелями (совместно с комплектом нижнего валка) из окна станины рабочей клетки. Заводка нового комплекта валков осуществляется в обратном порядке.

Обеспечивается постоянное по величине усилия поджатия вкладышей подушки к шейке валка в процессе эксплуатации.

В результате за счет воздействия предлагаемой схемы уравновешивания через тяги и двуплечие рычаги осуществляется постоянное и минимально допустимое по величине поджатие к шейке валка к вкладышам подушек. Наличие промежуточной тяги упрощает перевалку валков.

Внедрено на АООТ "Уральский завод тяжелого машиностроения".

Преимущества перед известными аналогами

Аналоги не известны

Стадия освоения

Внедрено в производство

Результаты испытаний

Технология обеспечивает получение стабильных результатов

Технико-экономический эффект

Снижение трудоемкости на 25%

Возможность передачи за рубеж

Возможна передача за рубеж

Дата поступления материала

16.08.1999

Инновации и люди

У павильонов Уральской выставки «ИННОВАЦИИ 2010» (г. Екатеринбург, 2010 г.)

Мероприятия на выставке "Инновации и инвестиции - 2008" (Югра, 2008 г.)

Открытие выставки "Малый бизнес. Инновации. Инвестиции" (г. Магнитогорск, 2007 г.)

Демонстрация разработок на выставке "Малый бизнес. Инновации. Инвестиции" (г. Магнитогорск, 2007 г.)